EasyManua.ls Logo

Saftronics GP10 - Page 55

Default Icon
57 pages
Print Icon
To Next Page IconTo Next Page
To Next Page IconTo Next Page
To Previous Page IconTo Previous Page
To Previous Page IconTo Previous Page
Loading...
54
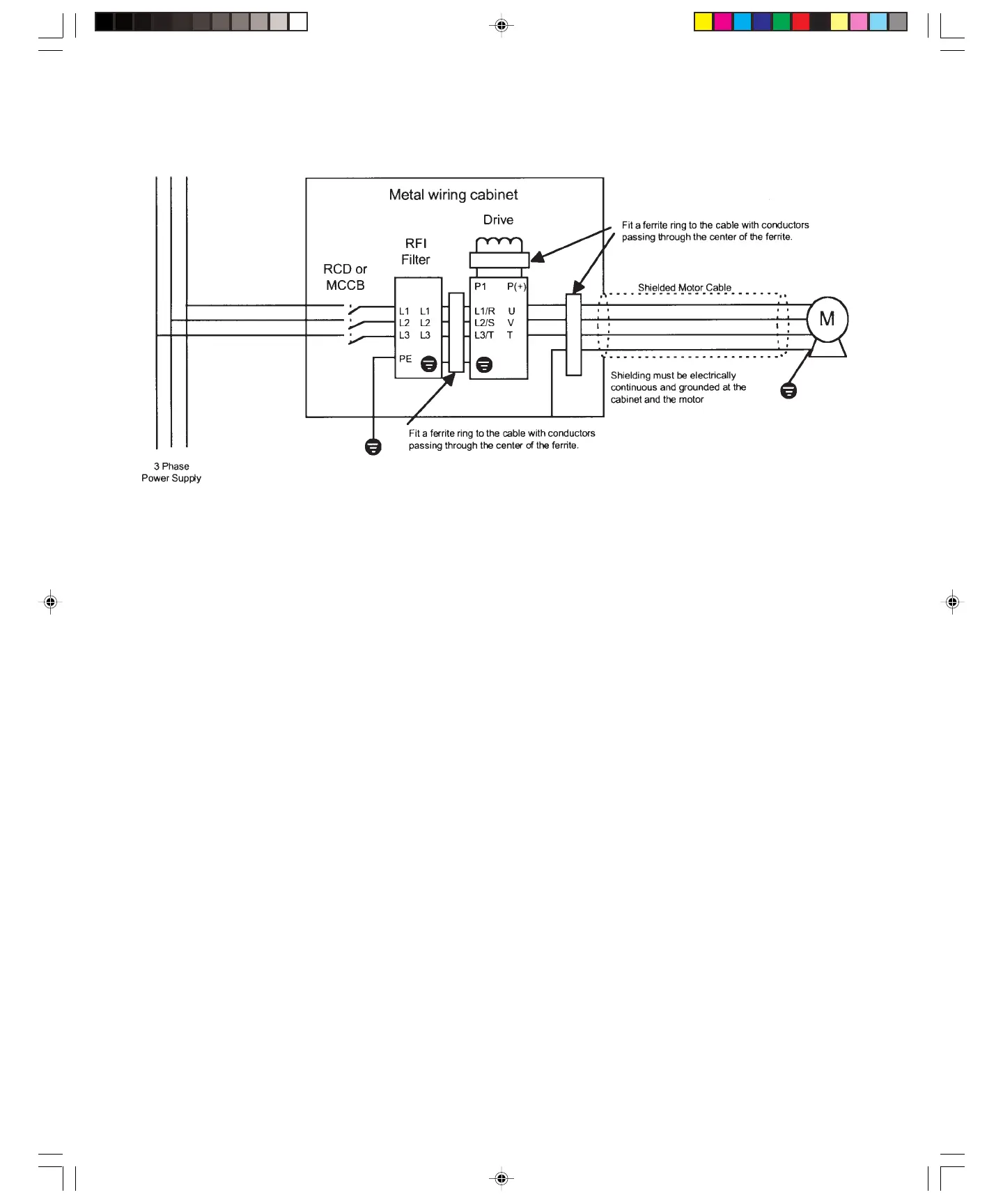
Figure 7Figure 7
Figure 7Figure 7
Figure 7
GP10 460V 400 Hp and higherGP10 460V 400 Hp and higher
GP10 460V 400 Hp and higherGP10 460V 400 Hp and higher
GP10 460V 400 Hp and higher
Artisan Technology Group - Quality Instrumentation ... Guaranteed | (888) 88-SOURCE | www.artisantg.com

Related product manuals