EasyManua.ls Logo

Sam4s ER-5240M - Page 175

Sam4s ER-5240M
201 pages
Print Icon
To Next Page IconTo Next Page
To Next Page IconTo Next Page
To Previous Page IconTo Previous Page
To Previous Page IconTo Previous Page
Loading...
ER-5200M/5240M Electronic Cash Register Sample Reports • 173
continued from previous page
HASH TTL 0
$0.00
NOSALE 4
NON ADD # 547
CASH-IN-D 14
$269.99
CHECK-IN-D 3
-108.45
FD/S-IN-D 2
$21.00
CHG1-IN-D 0
$0.00
CHG2-IN-D 1
$8.43
CHG3-IN-D 1
$8.52
CHG4-IN-D 2
-1.60
CHG5-IN-D 1
$2.67
CHG6-IN-D 2
$13.09
CHG7-IN-D 0
$0.00
CHG8-IN-D 1
$0.00
CHG1 SALES 0
$0.00
CHG2 SALES 1
$8.43
CHG3 SALES 1
$8.52
CHG4 SALES 2
-1.60
CHG5 SALES 1
$2.67
CHG6 SALES 2
$13.09
CHG7 SALES 0
$0.00
CHG8 SALES 1
$3.04
FOREIGN 1 0.00
FOREIGN 2 0.00
FOREIGN 3 0.00
FOREIGN 4 0.00
continued . . .
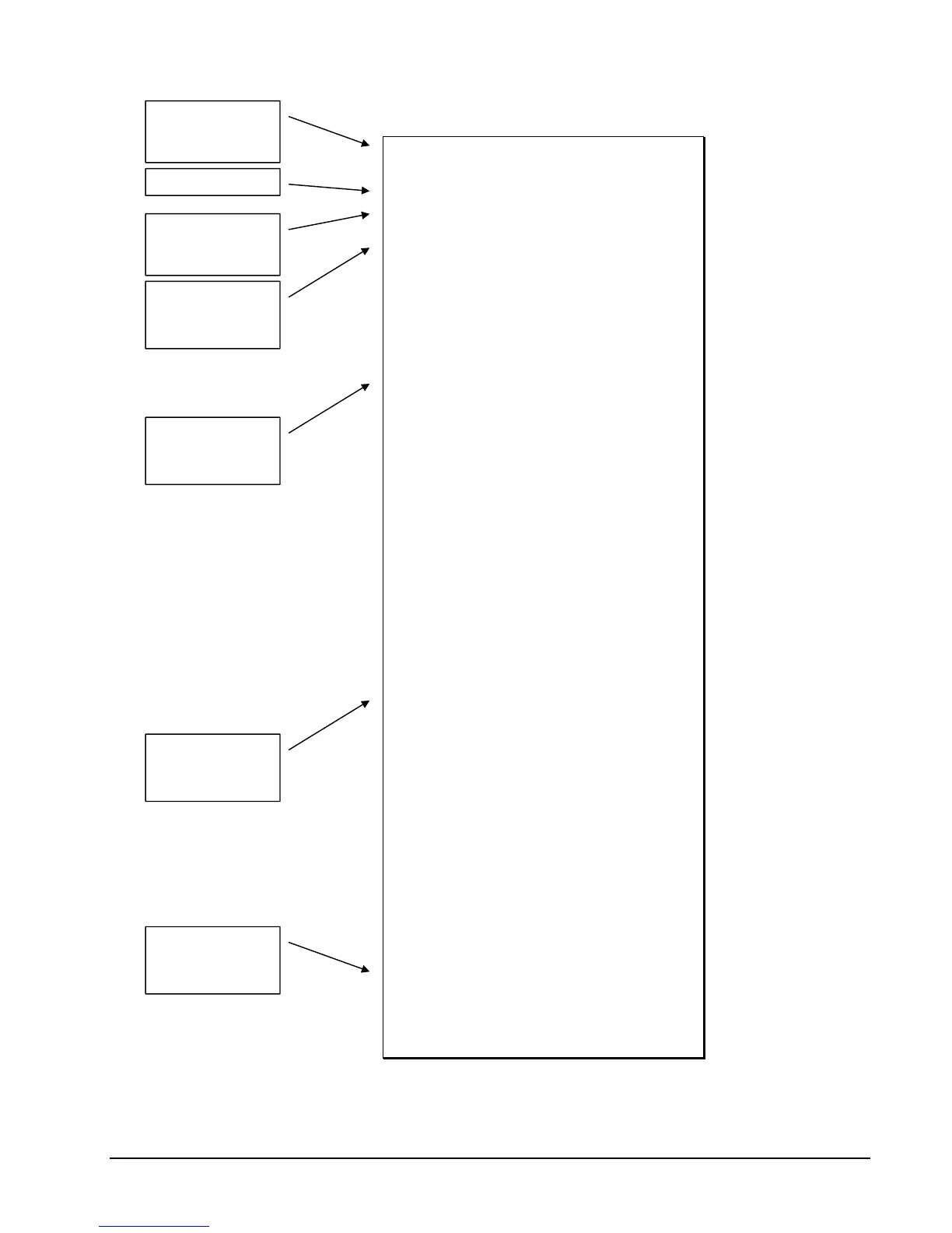
Total and count of
items sold with
HASH status.
Count of No Sales.
Total of numbers
entered into the non-
add key
Total and count of
expected CASH,
CHECK in drawer
Total and count for
each CHARGE in
drawer.
Total and count for
each CHARGE key.
Total for each
Foreign currency in
drawer.

Table of Contents