EasyManua.ls Logo

Samson UHF 801 - Recorrido Guiado - UR1

Samson UHF 801
45 pages
Print Icon
To Next Page IconTo Next Page
To Next Page IconTo Next Page
To Previous Page IconTo Previous Page
To Previous Page IconTo Previous Page
Loading...
35
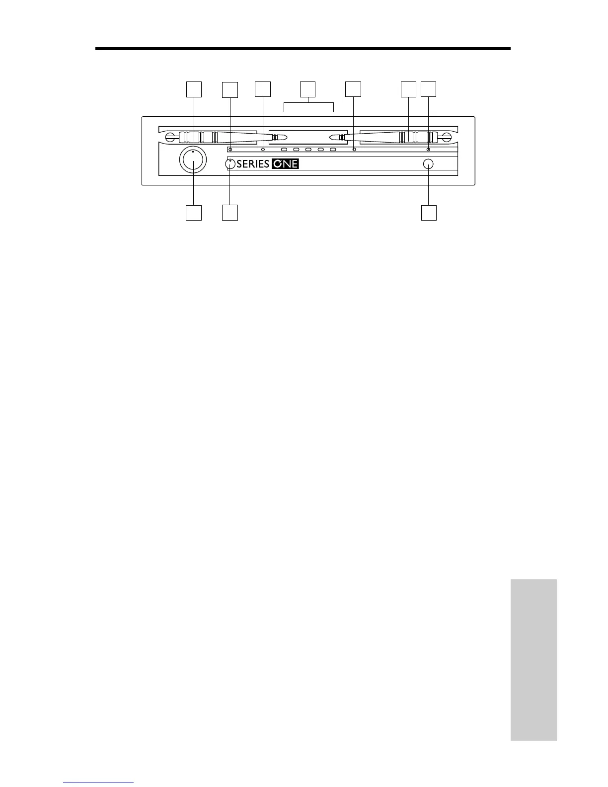
Recorrido guiado - UR1
1: Antenas (A y B) - Los puntos de montaje de antena permiten una rotación total para
conseguir una colocación óptima de las mismas. En su funcionamiento normal, tanto la
antena A (la de la izquierda), como la antena B (la antena de la derecha) deberían estar
colocadas en una posición vertical. Ambas antenas son telescópicas y pueden ser
recogidas dentro de si mismas para un mejor transporte del UR1. Vea la sección Ajuste y
utilización del sistema UHF Series One en la página 38 de este manual para una mayor
información acerca de la instalación y colocación de las antenas.
2: Control de nivel AF (Frecuencia de audio) - Este mando ajusta el nivel de la señal
audio que está siendo transmitida a través tanto de los conectores de salida balanceados
como no balanceados del panel trasero. El nivel de referencia se consigue cuando el
mando se gira completamente a la derecha (hasta su posición 10).
3: LED de picos - Este piloto luminoso LED se ilumina en amarillo cuando la señal de
salida del UR1 está en el límite de la saturación (es decir, cuando está al borde de la
distorsión). Si ve que se ilumina este piloto durante la operación, aléjese un poco con el
micrófono o disminuya el nivel de salida de su instrumento o transmisor. Para más
información, vea la página 38 de este manual.
4: Pilotos de antena A/B - Cuando se está recibiendo señal, uno de estos pilotos se
ilumina en verde indicando que se está utilizando en ese momento bien la antena A
(izquierda) o la B (derecha). El UR1 realiza un barrido constantemente entre las dos y
elige automáticamente la que esté recibiendo la señal más potente y clara. Este disparo de
diversidad real es completamente inaudible y permite aumentar de forma eficaz el rango
global a la vez que elimina virtualmente las interferencias potenciales y los problemas de
cancelación de fase.
5: Medidor de nivel RF (Frecuencia de radio) - Este medidor de cinco segmentos
(similar a los medidores de barras VU que se utilizan en los aparatos de audio) indica la
fuerza de la señal UHF que está siendo recibida. Cuando todos los segmentos están
encendidos, la señal RF entrante estará a la potencia óptima; cuando solo se ilumina
el de más a la izquierda, la señal RF entrante tendrá la potencia mínima para la recepción.
Si no se ilumina ningún segmento, no se recibirá ninguna señal; asegúrese entonces de
que su transmisor esté conectado y que esté ajustado al mismo canal que el UR1. Vea la
página 38 de este manual para más información.
6: LED de encendido - Queda iluminado en rojo mientras el UR1 está encendido.
7: Control Mute (anulación) - Este control determina el rango máximo del UR1 antes de
la caída de la señal audio. Aunque puede ajustarse usando el destornillador de plástico
que se incluye, normalmente se deja con el valor que viene fijado de fábrica. Vea la
sección de Ajuste y utilización del sistema UHF Series One en la página 38 de este
manual para una mayor información acerca de este control.
8: Interruptor de encendido - Utilice este interruptor para encender y apagar el UR1.
Cuando el receptor está encendido, el piloto de encendido (vea #6 arriba) está iluminado
en rojo.
SAMSON
UHF RECEIVER
1
2
3
5
1
7
4
4
6
8
ESPANOL

Related product manuals