EasyManua.ls Logo

Samsung RB2155BB - 11-7) No defrosting

Samsung RB2155BB
62 pages
Print Icon
To Next Page IconTo Next Page
To Next Page IconTo Next Page
To Previous Page IconTo Previous Page
To Previous Page IconTo Previous Page
Loading...
42
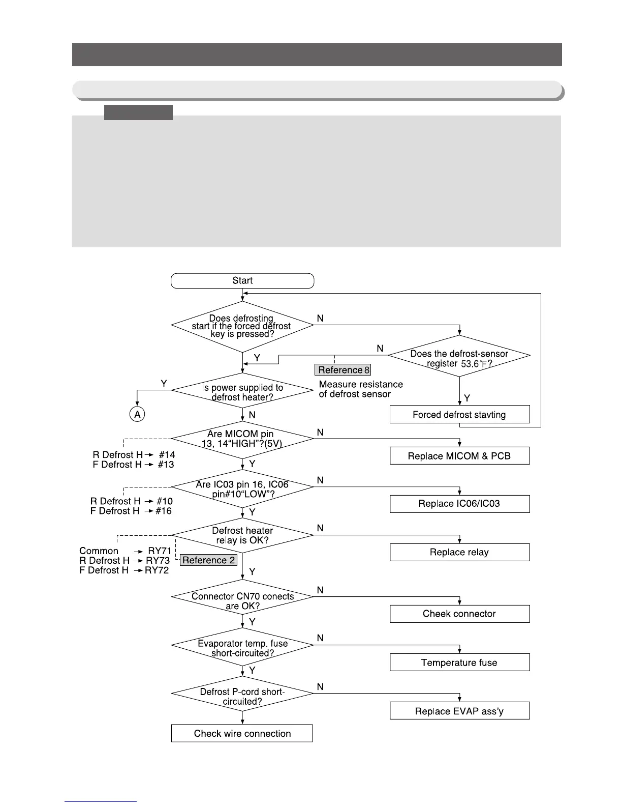
11-7) No defrosting
Diagnostics
1. Although both F󳢯R-defrost sensors have short-circuit, a normal operation continues
without a defrost cycle (Refer to self - diagnostics function)
2. When the temperature fuse is open, there is no heating and a defrost occurs naturally by
the compartment temperature increase and eventually, it will cause a blinking of
temperature.
3. When both F󳢯R-defrost sensors are open, heating does not end. The compressor remains
off and a temperature fuse will be open. (Refer to self-diagnostics function.)
Pre-check

Related product manuals