EasyManua.ls Logo

Samsung SCD20 - Page 13

Samsung SCD20
63 pages
Print Icon
To Next Page IconTo Next Page
To Next Page IconTo Next Page
To Previous Page IconTo Previous Page
To Previous Page IconTo Previous Page
Loading...
Samsung Electronics1-12
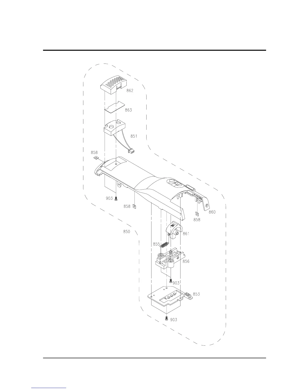
Exploded View and Parts List
1-6 Ass’y TOP