EasyManua.ls Logo

Samsung SR-L679EV - Problem in Freezer Defrost Sensor

Samsung SR-L679EV
81 pages
To Next Page IconTo Next Page
To Next Page IconTo Next Page
To Previous Page IconTo Previous Page
To Previous Page IconTo Previous Page
Loading...
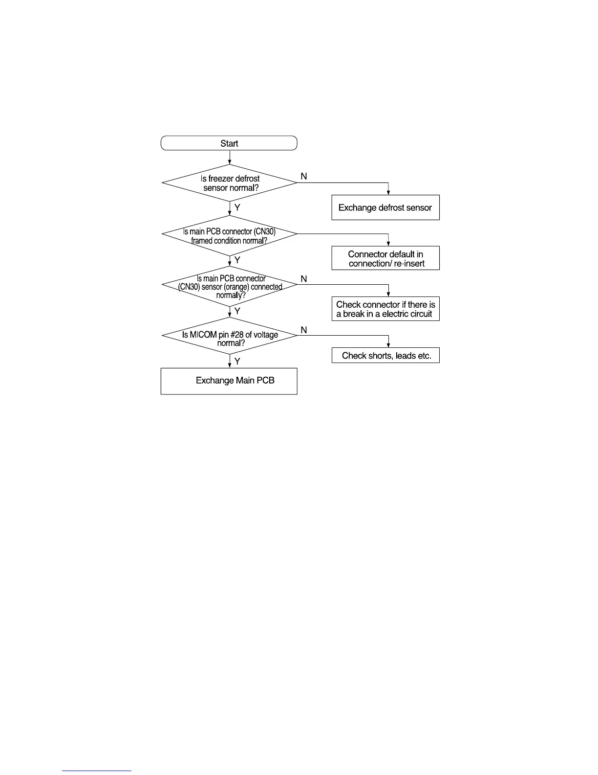
2-5) Problem in freezer defrost sensor
28

Table of Contents

Related product manuals