EasyManua.ls Logo

Sanitas SPM 21 - Grundeinstellungen; Grundfunktionen und Persönliche Daten Einstellen

Sanitas SPM 21
Print Icon
To Next Page IconTo Next Page
To Next Page IconTo Next Page
To Previous Page IconTo Previous Page
To Previous Page IconTo Previous Page
Loading...
12
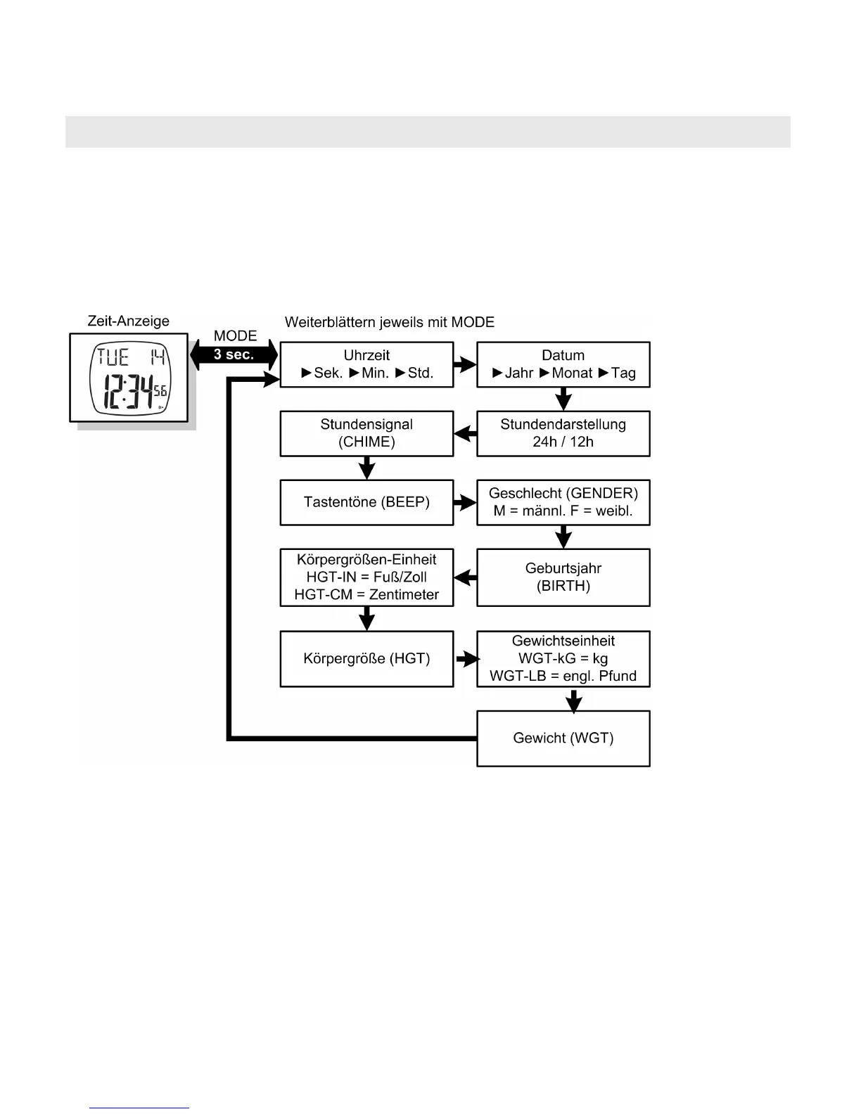
GRUNDEINSTELLUNGEN
Grundfunktionen und persönliche Daten einstellen
In dem Hauptmenü Zeit-Anzeige stellen Sie die Uhrzeit ein, legen
Grundfunktionen der Pulsuhr fest und nehmen persönliche Einstel-
lungen vor.
Von dem Hauptmenü Zeit-Anzeige aus drücken Sie den Knopf
MODE für ca. 3 sec. Sie gelangen in das Einstellmenü mit einer
Vielzahl von Einstellungen; blättern Sie jeweils zur nächsten Einstel-
lung mit dem Knopf MODE. Vorgegebene Einstellungen, die Sie
verändern können, blinken. Verändern Sie diese Einstellungen mit
den Knöpfen ST/STP/RESET und LIGHT.
Verlassen Sie das Einstellmenü, indem Sie den Knopf MODE für ca.
3 sec. festhalten.

Related product manuals