EasyManua.ls Logo

Sanus OLF24-B2 - Page 23

Sanus OLF24-B2
60 pages
Print Icon
To Next Page IconTo Next Page
To Next Page IconTo Next Page
To Previous Page IconTo Previous Page
To Previous Page IconTo Previous Page
Loading...
23
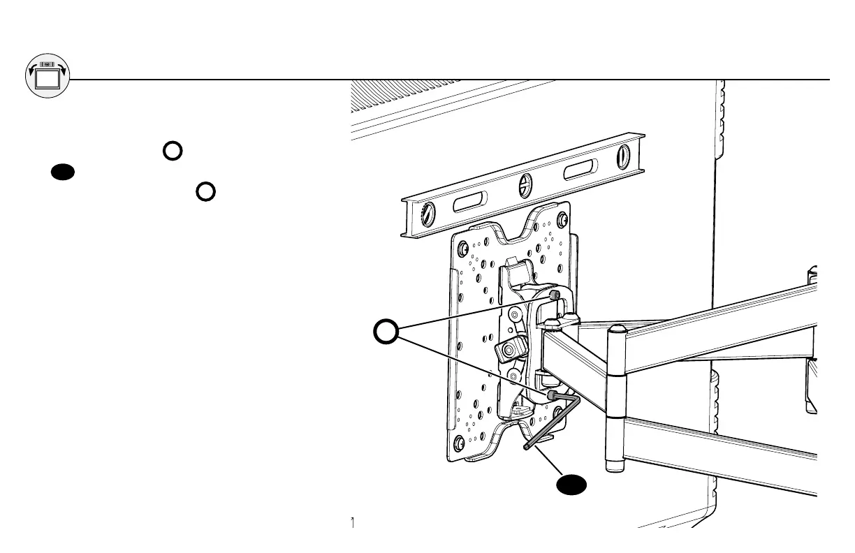
LEVEL ADJUSTMENT
18
To adjust the leveling of your TV:
Loosen leveling screws
L
using hex
key
18
,
adjust the TV level, then
retighten the leveling screws
L
.
L

Related product manuals