EasyManua.ls Logo

Sanwa CD772 - Names of Component Units; Test Leads

Sanwa CD772
56 pages
Print Icon
To Next Page IconTo Next Page
To Next Page IconTo Next Page
To Previous Page IconTo Previous Page
To Previous Page IconTo Previous Page
Loading...
4
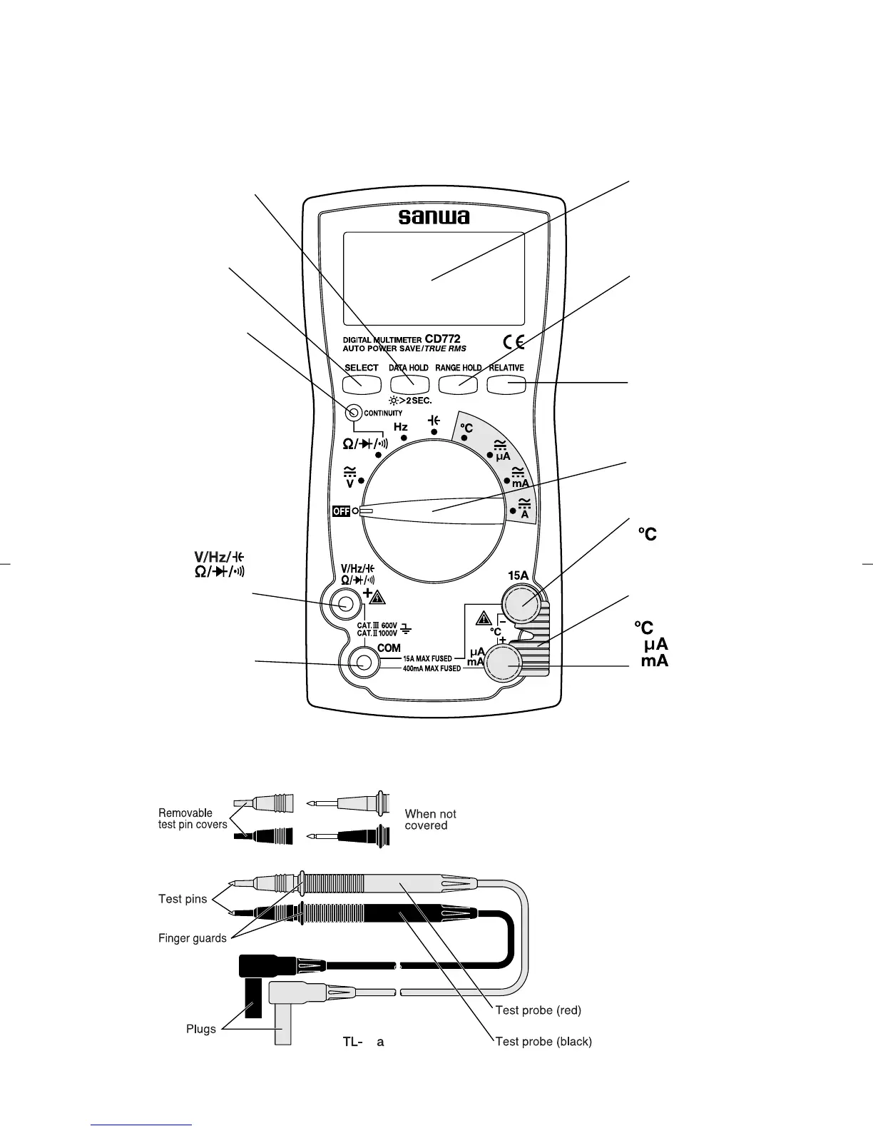
[3] NAMES OF COMPONENT UNITS
3-1 Meter
Removabletestpincovers
Whennotcovered:CAT.1000V
Whencovered:CAT.600V
25
Select button
LCD display
Range hold
button
Relative button
Power switch &
function switch
Data hold/backlight
button
Measuring
terminal
COM (common)
terminal
Continuity lamp
measuring
terminal
15A
-
measuring
terminal
3-2 Test Leads
+
Safety cap
DRAWING No. CD772 03-1101 2040 6017
CD772E11.1.1119:13ページ4

Related product manuals