EasyManua.ls Logo

Sanwa CD772 - Page 7

Sanwa CD772
56 pages
Print Icon
To Next Page IconTo Next Page
To Next Page IconTo Next Page
To Previous Page IconTo Previous Page
To Previous Page IconTo Previous Page
Loading...
−4−
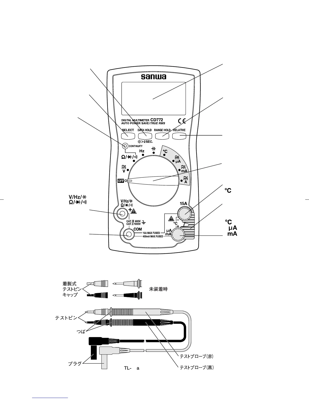
【3】各部の名称
3-1 本体
セレクトボタン
液晶表示部
レンジホールド
ボタン
リラティブボタン
電源スイッチ兼
ファンクションスイッチ
データホールド/バックライト
ボタン
測定端子
COM(共通)端子
導通ランプ
セーフティーキャップ
測定端子
15A測定端子
3-2 テストリード
+
着脱式テストピンキャップ
   未装着時:CAT.1000V
    装着時:CAT.600V
25
DRAWING No. CD772 03-1101 2040 6017
CD772J11.1.1118:50ページ4

Related product manuals