EasyManua.ls Logo

Sanwa PM3 - Resistance, Diode, Continuity

Sanwa PM3
16 pages
Print Icon
To Next Page IconTo Next Page
To Next Page IconTo Next Page
To Previous Page IconTo Previous Page
To Previous Page IconTo Previous Page
Loading...
5-3 Resistance Measurement (Ω)
WARNING
Never apply voltage to the input terminal.
1)
Application: Resistance of resistors and circuits are measured.
2) Measuring ranges:400Ω〜40MΩ(6 range)
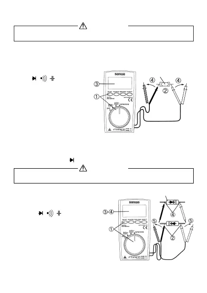
3) Measurement procedure
Set the function switch at
Ω/ / / function.
Apply the black red test
pin to measured circuit.
Read the value on the
display.
After measurement, remove
the red and black test pins
from the circuit measured.
If measurement is likely to be influenced by noise, shield the
object to measure with negative potential (test lead black).
The input terminals release voltage is about 0.4V.
5-4 Testing Diode ( )
WARNING
Never apply voltage to the input terminal.
1) Application: The quality of diodes is tested.
2) Measurement procedure
Set the function switch
at Ω/ / / function
and select the function
by SELECT switch.
Apply the black test pin to
the cathode of the diode and
the red test pin to the anode.
Make sure that the display
shows a diode forward voltage drop.
Resistor
Diode
ー8

Related product manuals