EasyManua.ls Logo

Sanyo CL1271 - Checking the Indoor and Outdoor Units

Sanyo CL1271
131 pages
Print Icon
To Next Page IconTo Next Page
To Next Page IconTo Next Page
To Previous Page IconTo Previous Page
To Previous Page IconTo Previous Page
Loading...
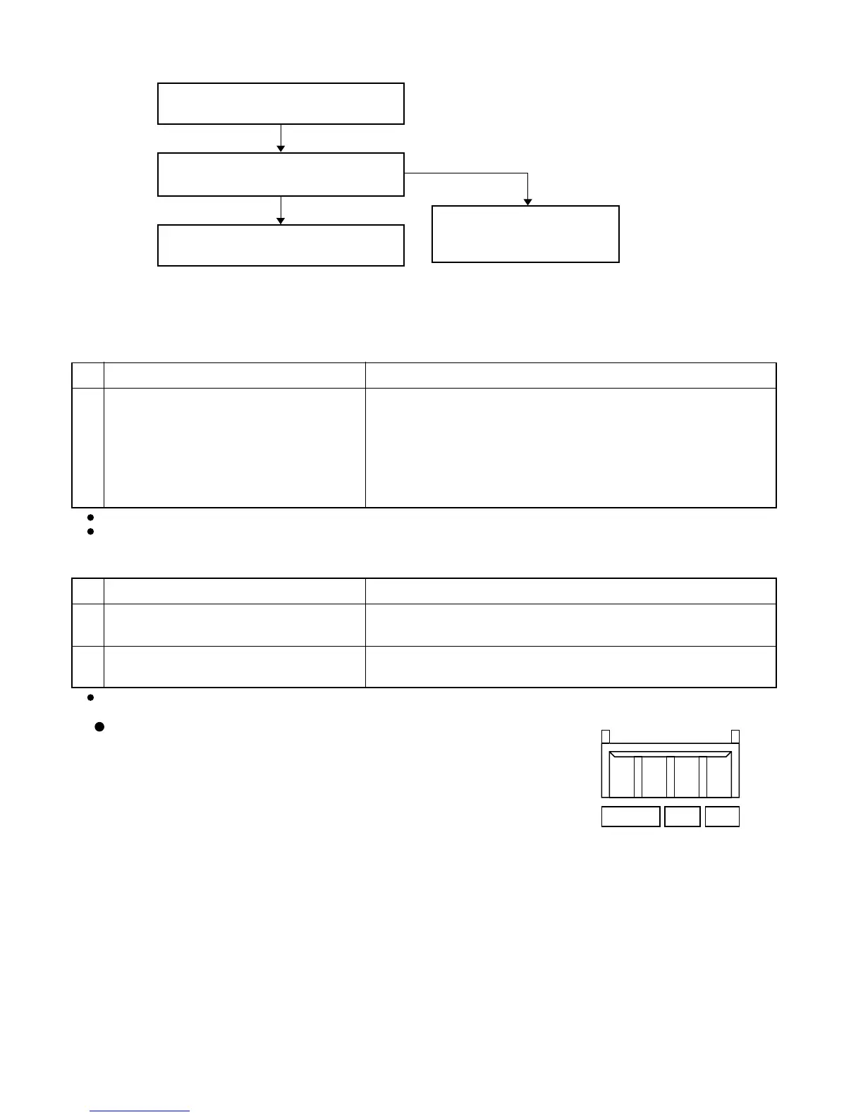
(2) If the self-diagnostics function fails to operate
Check the indoor unit.
Is the fuse blown?
Replace the controller.
Replace the circuit
board or the fuse.
No indicators illuminate and the
indoor fan does not rotate.
Check the power voltage.
Normal
Blown
9-3. Checking the Indoor and Outdoor Units
(1) Checking the indoor unit
(2) Checking the outdoor unit
Using the TEST/T-RUN terminals
ControlNo. Check items (unit operation)
T-RUN :Test run (compressor and fan motor turn ON).
TEST/MV : Compresses time to 1/60th (accelerates
operation by 60 times faster than normal).
Use the remote controller to operate the
unit in "TEST run" mode. To determine
whether the mode is currently in
"TEST run" mode, check the 3 indicator
lamps on the unit. If all 3 are blinking,
the current mode is "TEST run."
If there are no problems with the above, then check the outdoor unit.
1
The rated voltage must be present between inter-unit wirings 1 and 2.
Connect a 5 k ohm resistor between inter-unit wirings 2 and 3. When the
voltage at both ends is measured, approximately 12 to 15V DC must
be output and the multimeter pointer must bounce once every 8
seconds.
Or instead of measuring the voltage, you can insert an LED jig and
check that the LED flickers once every 8 seconds.
ControlNo. Check items (unit operation)
Apply the rated voltage between outdoor
unit terminals L and N.
If there are no problems with the above, then check the indoor unit.
1 The control panel LED (red) must illuminate.
Short-circuit the outdoor unit COM terminal
to the T-RUN terminal.
2 The compressor, fan motor and 4-way valve must all turn on.
TEST/T-RUN terminals
(TEST)/MV T-RUN COM
For the "Test run" procedure, refer to the Appendix B "Installation Instructions".
56

Table of Contents

Related product manuals