EasyManua.ls Logo

Sanyo JA 477 - Power Supply

Sanyo JA 477
8 pages
Print Icon
To Next Page IconTo Next Page
To Next Page IconTo Next Page
To Previous Page IconTo Previous Page
To Previous Page IconTo Previous Page
Loading...
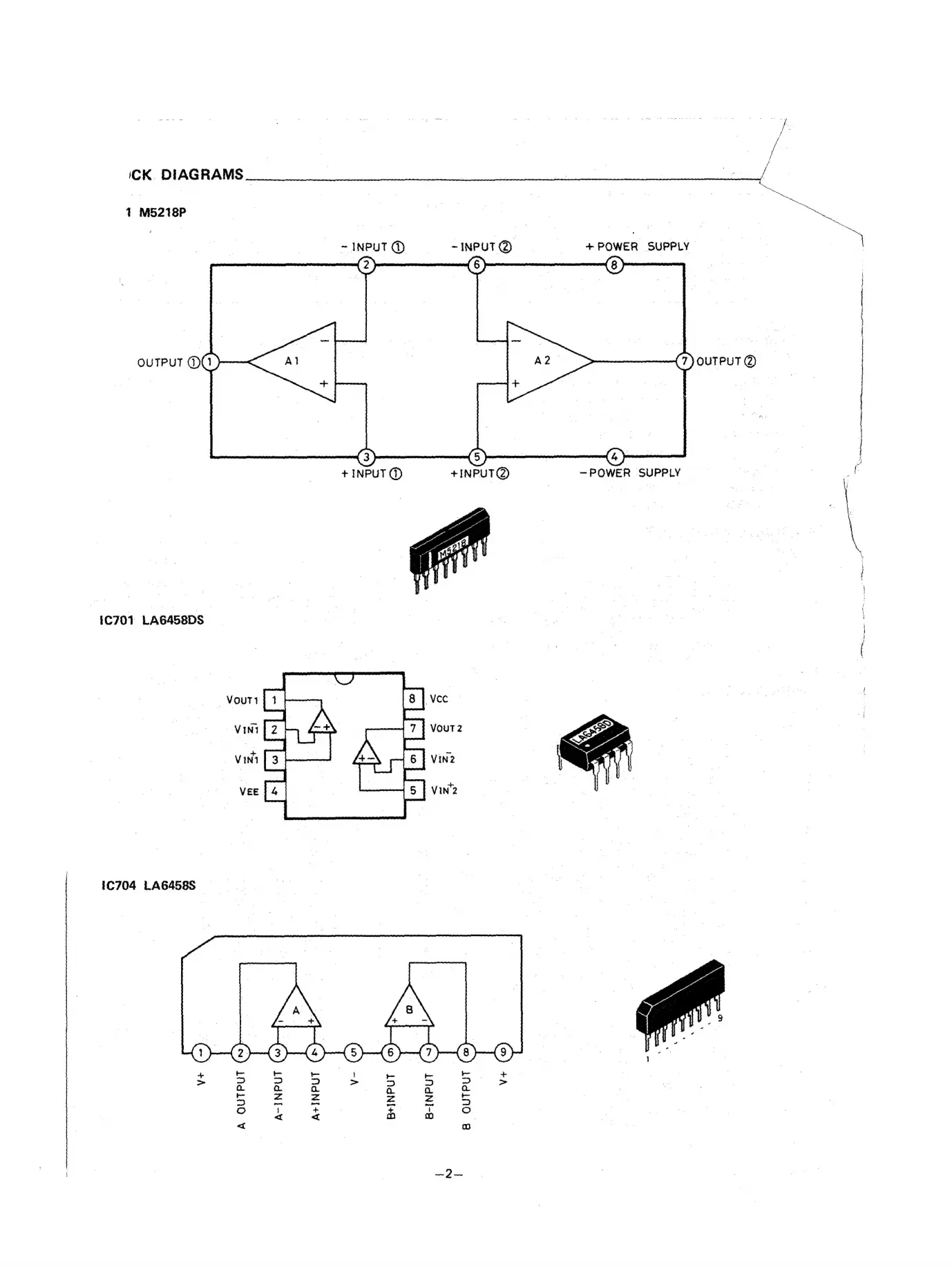
CK.
DIAGRAMS
1
M5218P
~
INPUT
@
-INPUT@
+POWER
SUPPLY
ouTPuT
@(1)}-—~<
(TYOUTPUT@
+
INPUT
@
—-POWER
SUPPLY
1C701
LAG458DS
10704
LAG458S
_
eal
Ge)
()
V-
V+
(<0)
A+INPUT
B
OUTPUT
()
A
OUTPUT
at
ON
er
ah
ee
pe
fl
eA
er
a
A
Ee
he

Related product manuals