EasyManua.ls Logo

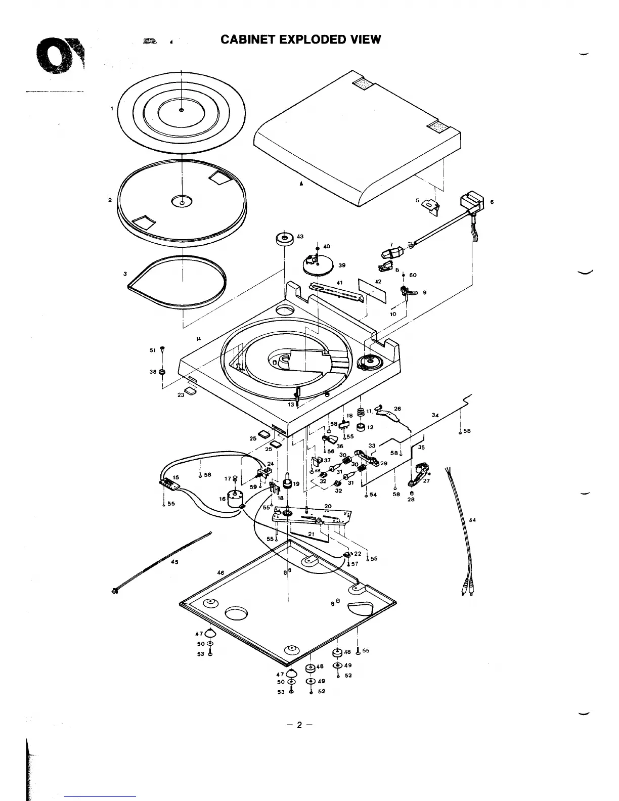
Sanyo TP DJ1 - Cabinet Exploded View

Sanyo TP DJ1
4 pages
Print Icon
To Next Page IconTo Next Page
To Next Page IconTo Next Page
To Previous Page IconTo Previous Page
To Previous Page IconTo Previous Page
Loading...
~,
CABINET EXPLODED VIEW
.——. .—..
>
...
-..’.’......
......
........
\\
//
1
2
I
14 /// //
d
534 J52
–2–

Related product manuals