EasyManua.ls Logo

Sanyo TP20 - Page 8

Sanyo TP20
9 pages
Print Icon
To Next Page IconTo Next Page
To Next Page IconTo Next Page
To Previous Page IconTo Previous Page
To Previous Page IconTo Previous Page
Loading...
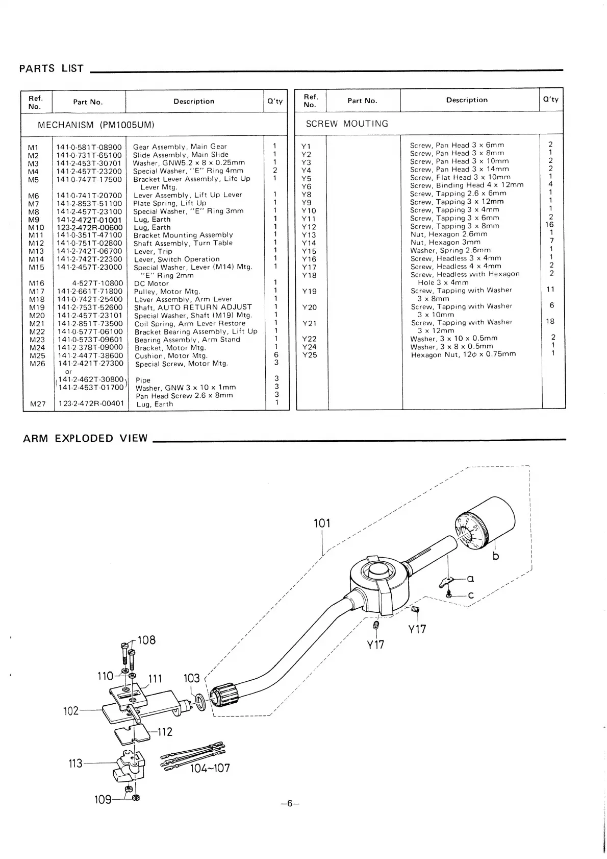
PARTS
LIST
M27
ARM
Ref.
Part
No.
MECHANISM
(PM1005UM)
141-0-581T-08900
141-0-731T-65100
141-2-453T-30701
141-2-457T-23200
141-0-747T-17500
141-0-741T-20700
141-2-853T-51100
141-2-457T-23100
141-2-472T-01001
123-2-472R-00600
141-0-351T-47100
141-0-751T-02800
141-2-742T-06700
141-2-742T-22300
141-2-457T-23000
4-527T-10800
141-2-661T-71800
141-0-742T-25400
141-2-753T-52600
141-2-457T-23101
141-2-851T-73500
141-0-577T-06100
141-0-573T-09601
141-2-378T-09000
141-2-447T
-38600
141-2-421T-27300
or
(141-2-462T
30800
141-2-453T-01700
123-2-472R-00401
EXPLODED
VIEW
102
)
le:
Gear
Assembly,
Main
Gear
Slide
Assembly,
Main
Slide
Washer,
GNW5S.2
x
8
x
0.25mm
Special
Washer,
‘‘E’’
Ring
4mm
Bracket
Lever
Assembly,
Life
Up
Lever
Mtg.
Lever
Assembly,
Lift
Up
Lever
Plate
Spring,
Lift
Up
Special
Washer,
‘‘E’’
Ring
3mm
Lug,
Earth
Lug,
Earth
Bracket
Mounting
Assembly
Shaft
Assembly,
Turn
Table
Lever,
Trip
Lever,
Switch
Operation
Special
Washer,
Lever
(M14)
Mtg.
“E"
Ring
2mm
DC
Motor
Pulley,
Motor
Mtg.
Léver
Assembly,
Arm
Lever
Shaft,
AUTO
RETURN
ADJUST
Special
Washer,
Shaft
(M19)
Mtg.
Coil
Spring,
Arm
Lever
Restore
Bracket
Bearing
Assembly,
Lift
Up
Bearing
Assembly,
Arm
Stand
Bracket,
Motor
Mtg.
Cushion,
Motor
Mtg.
Special
Screw,
Motor
Mtg.
Pipe
Washer,
GNW
3
x
10
x
1mm
Pan
Head
Screw
2.6
x
8mm
Lug,
Earth
—_
104~107
A).
2
ot
3
oat
od ot
=
=
WW
W
WOO
-
-
aS
MP
SB
eae
ee
Ref.
No.
SCREW
MOUTING
Screw,
Pan
Head
3
x
6mm
Screw,
Pan
Head
3
x
8mm
Screw,
Pan
Head
3
x
10mm
Screw,
Pan
Head
3
x
14mm
Screw,
Flat
Head
3
x
10mm
Screw,
Tapping
2.6
x
6mm
Screw,
Tapping
3
x
12mm
Screw,
Tapping
3
x
4mm
Screw,
Tapping
3
x
6mm
Screw,
Tapping
3
x
8mm
Nut,
Hexagon
2.6mm
Nut,
Hexagon
3mm
Washer,
Spring
2.6mm
Screw,
Headless
3
x
4mm
Screw,
Headless
4
x
4mm
Screw,
Headless
with
Hexagon
Hole
3
x
4mm
Screw,
Tapping
with
Washer
3
x
8mm
Screw,
Tapping
with
Washer
3
x
10mm
Screw,
Tapping
with
Washer
3
x
12mm
Washer,
3
x
10
x
0.5mm
Washer,
3
x
8
x
0.5mm
Hexagon
Nut,
12¢
x
0.75mm
Screw,
Binding
Head
4
x
12mm
Q'ty
NN
AAP
yA
ON
HRP
RPRANN-H
ND

Related product manuals