EasyManua.ls Logo

Sanyo TP20 - Wiring Diagram

Sanyo TP20
9 pages
Print Icon
To Previous Page IconTo Previous Page
To Previous Page IconTo Previous Page
Loading...
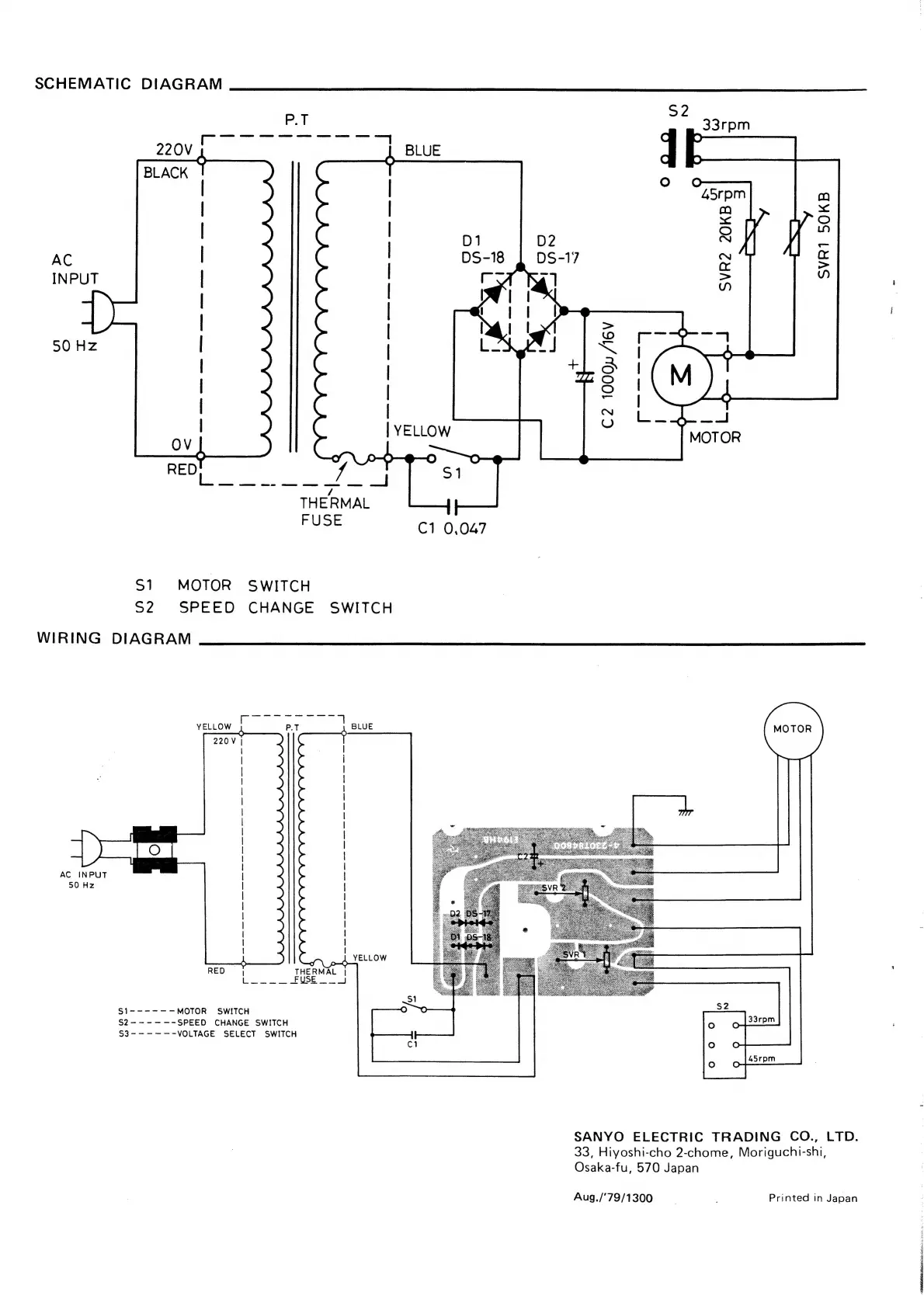
SCHEMATIC
DIAGRAM
P.T
33rpm
nov}
atte
a
@
|
45rpm
faa
|
=
=
oO
wh
:
D1
D2
N
/
a
AC
DS-18
|
DS-17
>
=
INPUT
|
CW
Na
=
=
|
|
|
|
i
|
©
-+
50
HZ
|
=~
i
|
ry
|
o)
|
a
d
|
Sf
Z|
>
a
|
YELLOW
MOTOR
R
e
OC)
t @
a
ne
Oe
S]
THERMAL
FUSE
C1
0,047
S1
MOTOR
SWITCH
S2
SPEED
CHANGE
SWITCH
WIRING
DIAGRAM
YELLOW
pe
od
a
Noe
oe
P.T
BLUE
O
AC
INPUT
50
Hz
YELLOW
Lzes
(aa
ame
ae
ee
ee
ee
ee
RED
|
THERMAL
:
Leleetatoyels
ea
I
ect
S1-----—-MOTOR
SWITCH
Cy
ee
SPEED
CHANGE
SWITCH
§3------
VOLTAGE
SELECT
SWITCH
SANYO
ELECTRIC
TRADING
CO.,
LTD.
33,
Hiyoshi-cho
2-chome,
Moriguchi-shi,
Osaka-fu,
570
Japan
Aug./'79/1300
Printed
in
Japan

Related product manuals