EasyManua.ls Logo

Sanyo TRC9010 - Block Diagram

Sanyo TRC9010
22 pages
Print Icon
To Next Page IconTo Next Page
To Next Page IconTo Next Page
To Previous Page IconTo Previous Page
To Previous Page IconTo Previous Page
Loading...
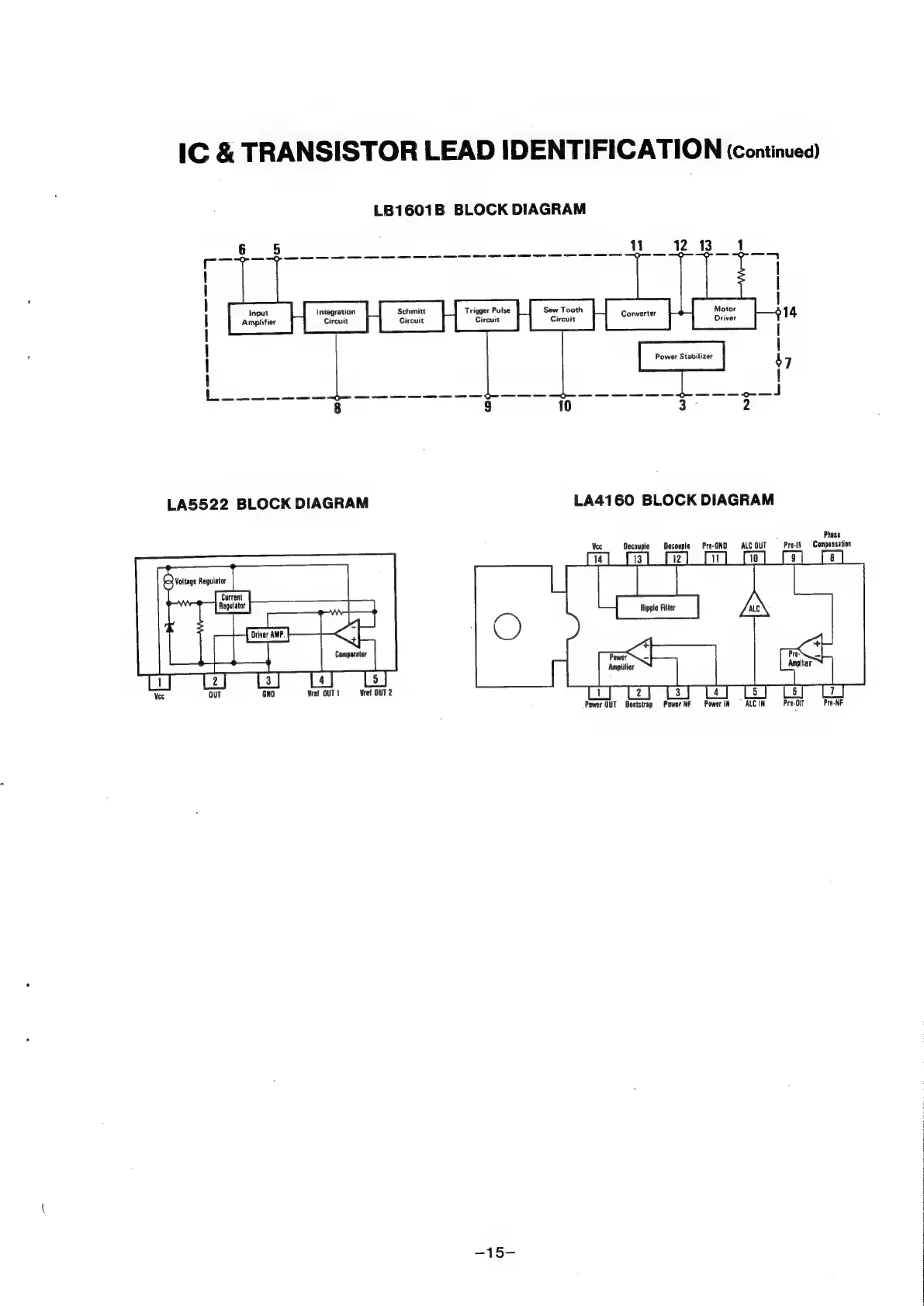
IC
&
TRANSISTOR
LEAD
IDENTIFICATION
(continue)
LB1601B
BLOCK
DIAGRAM
6
5
11
12
13
1
ra
4
|
|
|
|
614
!
|
|
|
|
$7
{
I
Poe
ee
4 i
}
J
8
9
10
LA5522
BLOCK
DIAGRAM
LA4160
BLOCK
DIAGRAM
e
Phase
Vec
Decouple
Decouple
Pre-GND
ALC
OUT
Pre-Ik
©
Compensation
ea
-
te
Current
tee
(aoa.
Z
Ripple
Filter
Power
Amplifier
Power
OUT
Bootstrap
Power
NF
Power
IN
=
ALL
IN
Pre-OUT
Pre-NF