EasyManua.ls Logo

Sartorius Master Pro LP2200 - Page 54

Sartorius Master Pro LP2200
64 pages
Print Icon
To Next Page IconTo Next Page
To Next Page IconTo Next Page
To Previous Page IconTo Previous Page
To Previous Page IconTo Previous Page
Loading...
54
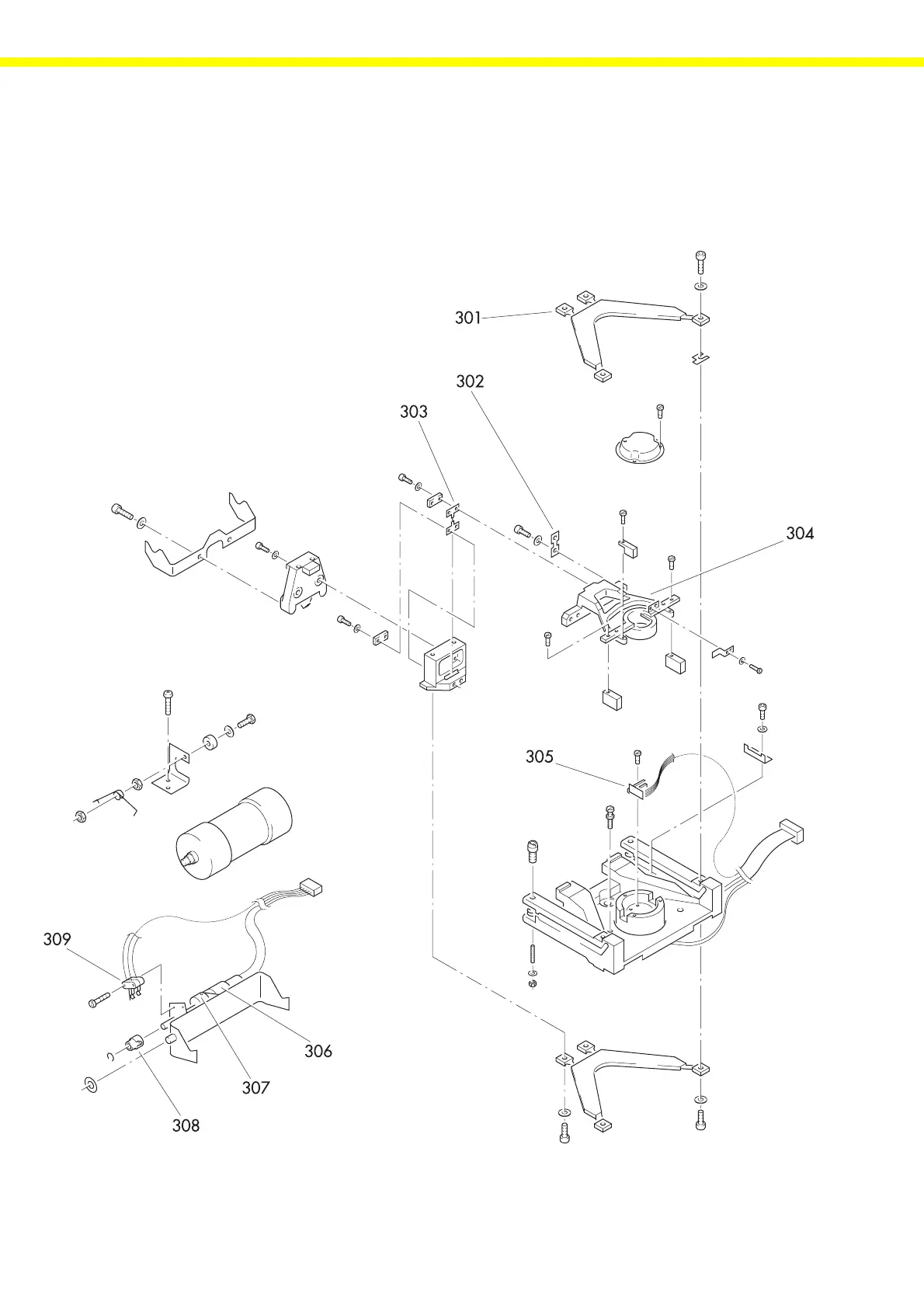
LP / LA - Exploded-View Diagram 3
LP_exp_3.EPS

Table of Contents

Related product manuals