EasyManua.ls Logo

Savaria Infinity - Page 15

Default Icon
60 pages
Print Icon
To Next Page IconTo Next Page
To Next Page IconTo Next Page
To Previous Page IconTo Previous Page
To Previous Page IconTo Previous Page
Loading...
15
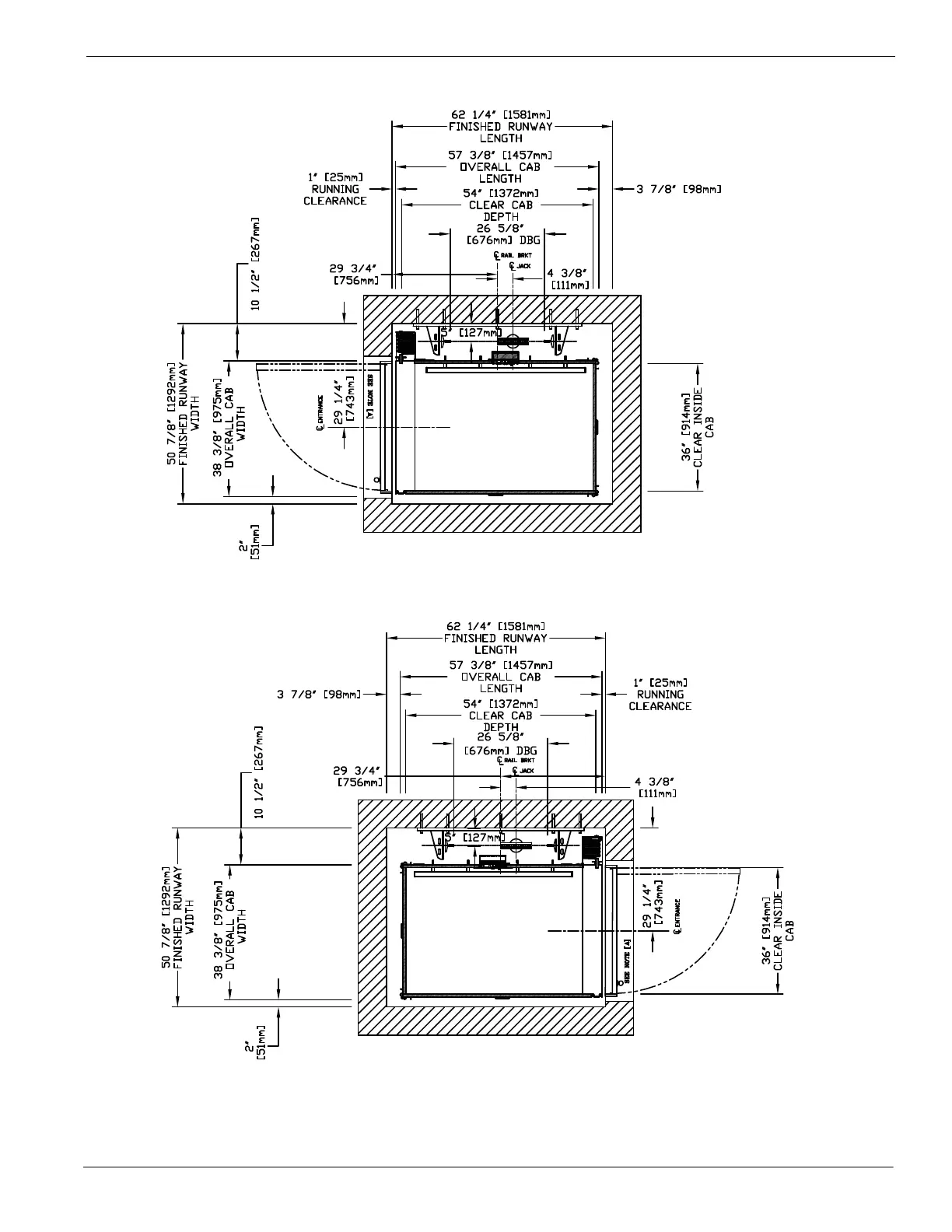
Part No. 000783, 24-m09-2015 Infinity and Infinity HD Planning Guide
Plan view – Infinity 36” x 54” type 1 left-hand 15-
Plan view – Infinity 36” x 54” type 1 right-hand 16-
IMPORTANT: Always refer to your plan drawings for dimensions specific to your site.
For Infinity with Auto Slim Doors, DO NOT use the above drawings; refer to Appendix A instead.

Table of Contents

Other manuals for Savaria Infinity

Related product manuals