EasyManua.ls Logo

SCAN Andersen 4-5 - Page 11

SCAN Andersen 4-5
20 pages
Print Icon
To Next Page IconTo Next Page
To Next Page IconTo Next Page
To Previous Page IconTo Previous Page
To Previous Page IconTo Previous Page
Loading...
11
English
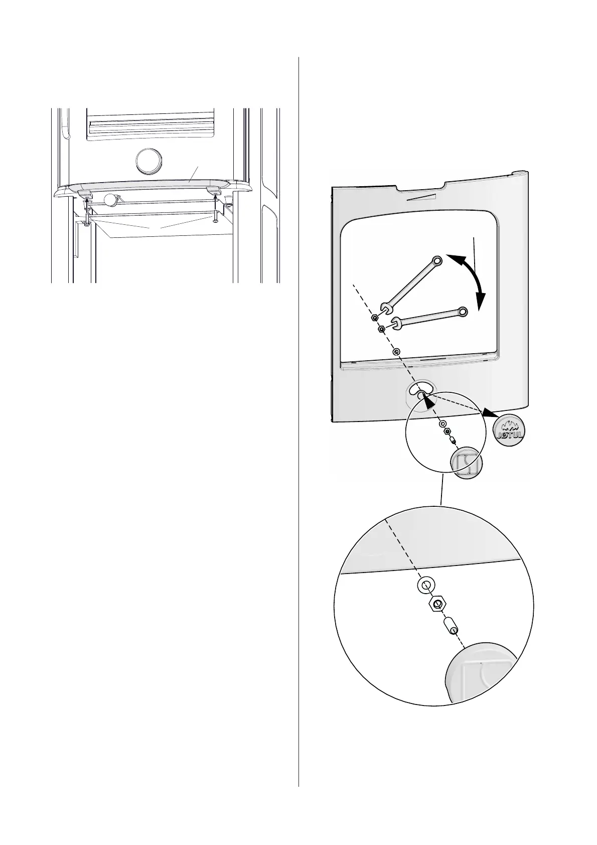
4.8 Fitting the ash lip
Fig. 12
A
B
1. Secure the ash lip in place ( g. 12A) using the screws
provided ( g. 12B).
4.9 Handle
If you want a rm handle, you can mount the screw (M5x20mm)
that you will nd in the service bag. The vertical position of the
handle can be adjusted by turning the set screw on the locking
device.
Conversion to Scan Andersen 4-5 / 4-5 S
Fig. 13
Open
A
B
1. Remove the Jøtul knob (A).
2. Fasten the Scan Andersen 4-5 knob (B).

Other manuals for SCAN Andersen 4-5

Related product manuals