EasyManua.ls Logo

Seca 334 LC - Page 36

Seca 334 LC
36 pages
Print Icon
To Previous Page IconTo Previous Page
To Previous Page IconTo Previous Page
Loading...
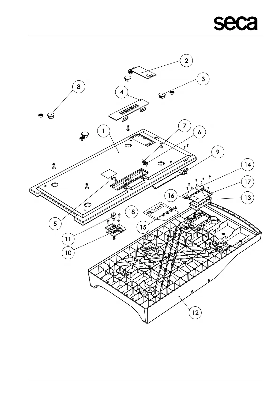
Spare parts drawing
seca 334 LC / 335 LC
21.01.2013 /SSC 1 30-34-00-749b
Figure 1: exploded view

Related product manuals