EasyManua.ls Logo

Seca 634 - Page 30

Seca 634
32 pages
Print Icon
To Next Page IconTo Next Page
To Next Page IconTo Next Page
To Previous Page IconTo Previous Page
To Previous Page IconTo Previous Page
Loading...
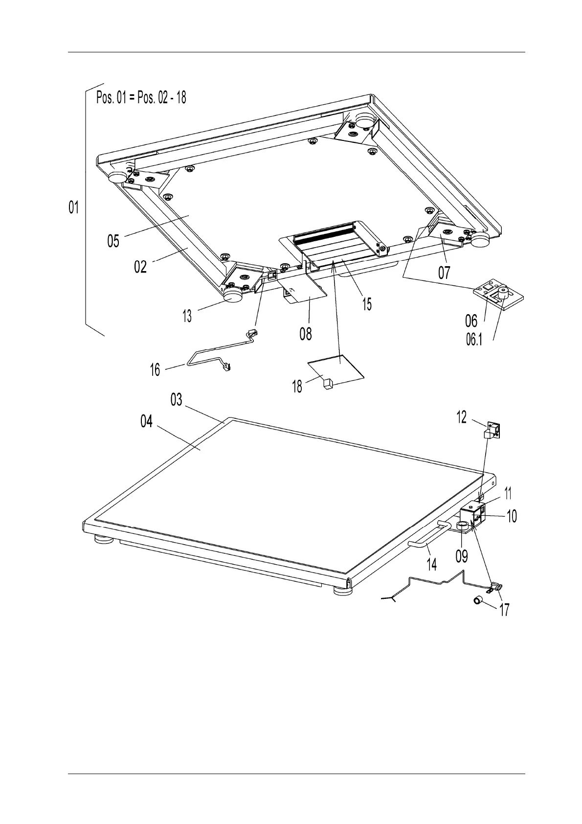
Service manual Spare parts list
03.02.2011/ Rei 30-34-00-056c

Other manuals for Seca 634

Related product manuals