EasyManua.ls Logo

Security Link SL150 - Mounting the Controls Circuit Board Alone; Mounting Control and RF Receiver Boards Together

Security Link SL150
144 pages
Print Icon
To Next Page IconTo Next Page
To Next Page IconTo Next Page
To Previous Page IconTo Previous Page
To Previous Page IconTo Previous Page
Loading...
SL150 Installation and Setup Guide
2–2
Before installing the cabinet's contents, remove the metal cabinet knockouts required for wiring
entry. Do not attempt to remove the knockouts after the circuit board has been installed.
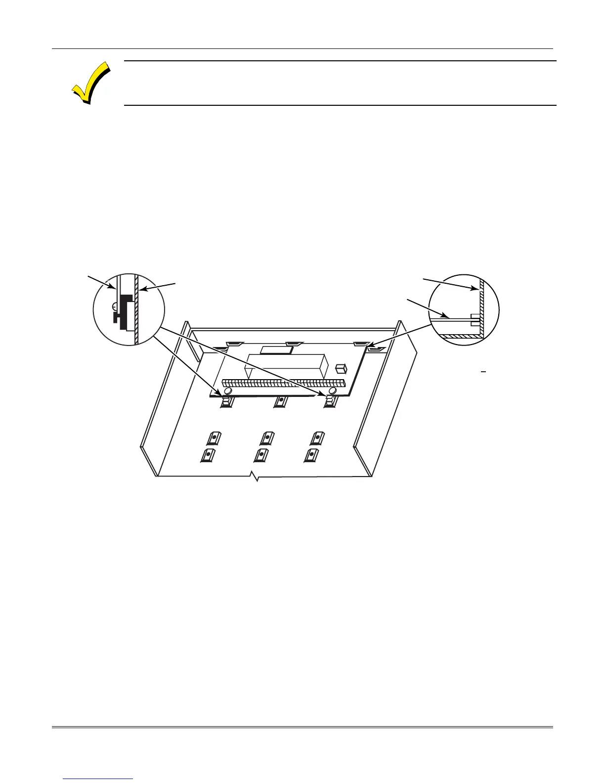
Mounting the Control's Circuit Board Alone in the Cabinet
To mount the circuit board alone in the cabinet, follow these steps:
1. Hang two short natural-colored
mounting
clips (provided) on the raised cabinet tabs (see
Detail B in Figure 2).
2. Insert the top of the circuit board into the slots at the top of the cabinet. Make sure that
the board rests on the correct row (see Detail A).
3. Swing the base of the board into the mounting clips and secure the board to the cabinet
with the accompanying screws (see Detail B).
CABINET
+
+
CIRCUIT
BOARD
CABINET
CIRCUIT
BOARD
DETAIL B
SIDE VIEW OF
SHORT
MOUNTING CLIPS
DETAIL A
SIDE VIEW
OF BOARD --
SUPPORTING SLOTS
Figure 2. Mounting the PC Board
Mounting Control and RF Receiver Circuit Boards Together in the Cabinet
To mount the control and RF receiver boards together in the cabinet, do the following:
1.
Hang two short (black) mounting clips (provided with receiver) on the raised cabinet tabs,
as shown in Detail B in Figure 3
.
2.
Insert the top of the receiver board (removed from its own case as described in its
instructions) into the slots at the top of the cabinet, as shown in Detail A in Figure 3
.
Make sure that the board rests on the correct row of tabs, as shown.
3.
Hang two short (black) mounting clips (provided with receiver) on the raised cabinet tabs,
as shown in Detail B in Figure 3
.
4.
Insert the top of the receiver board (removed from its own case as described in its
instructions) into the slots at the top of the cabinet, as shown in Detail A in Figure 3
.
Make sure that the board rests on the correct row of tabs, as shown.

Table of Contents