EasyManua.ls Logo

Sedgwick TA315 - Page 24

Sedgwick TA315
36 pages
Print Icon
To Next Page IconTo Next Page
To Next Page IconTo Next Page
To Previous Page IconTo Previous Page
To Previous Page IconTo Previous Page
Loading...
TA Operation/Maintenance Instructions Page 24 of 36
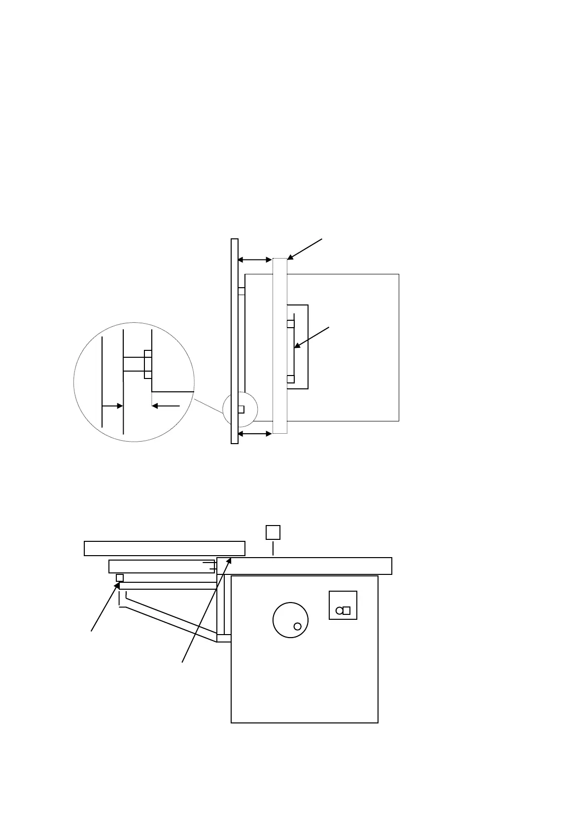
9.2 Optional 610mm Cross Cut Table Setting & Installation
If the crosscut table is not set parallel to the saw blade this causes heeling; that is, the
blade is not parallel to the saw cut. Heeling is hard on the blade and can cause excess
vibration. Start by checking that the crosscut shaft is level to the top of the table. The holes
that are used to fasten the bar to the table are oversize and the bar can therefore be
adjusted to suit. Next check that the shaft is parallel to the blade. To do this, simply follow
these directions:
With the rolling table removed, place two spacers of equal thickness (about 25mm)
against the front and rear of the blade (as below). Place a straight edge up to the
spacers and take a measurement from the front edge of the bar to the straight edge. This
should have been set at 16mm. Adjust the far end of the bar until it too measures 16mm.
Straight Edge
A
Blade
16mm
A Measurement ‘A’ must be equal
Next roll the table onto the bar and position on the jib.
With table in its foremost position roll it forward until the crosscut fence is just over the front
of the machine table. Using the adjustable jib pin (illustrated below) set the gap between
the fence and the table to 0.5mm. Lock off the jib nut.
Jib pin
0.5mm