EasyManua.ls Logo

Sencotel Granitore 1 - Page 23

Sencotel Granitore 1
Print Icon
To Next Page IconTo Next Page
To Next Page IconTo Next Page
To Previous Page IconTo Previous Page
To Previous Page IconTo Previous Page
Loading...
SL310005700 Ed.00 - 04-2011 - 21 _IT-
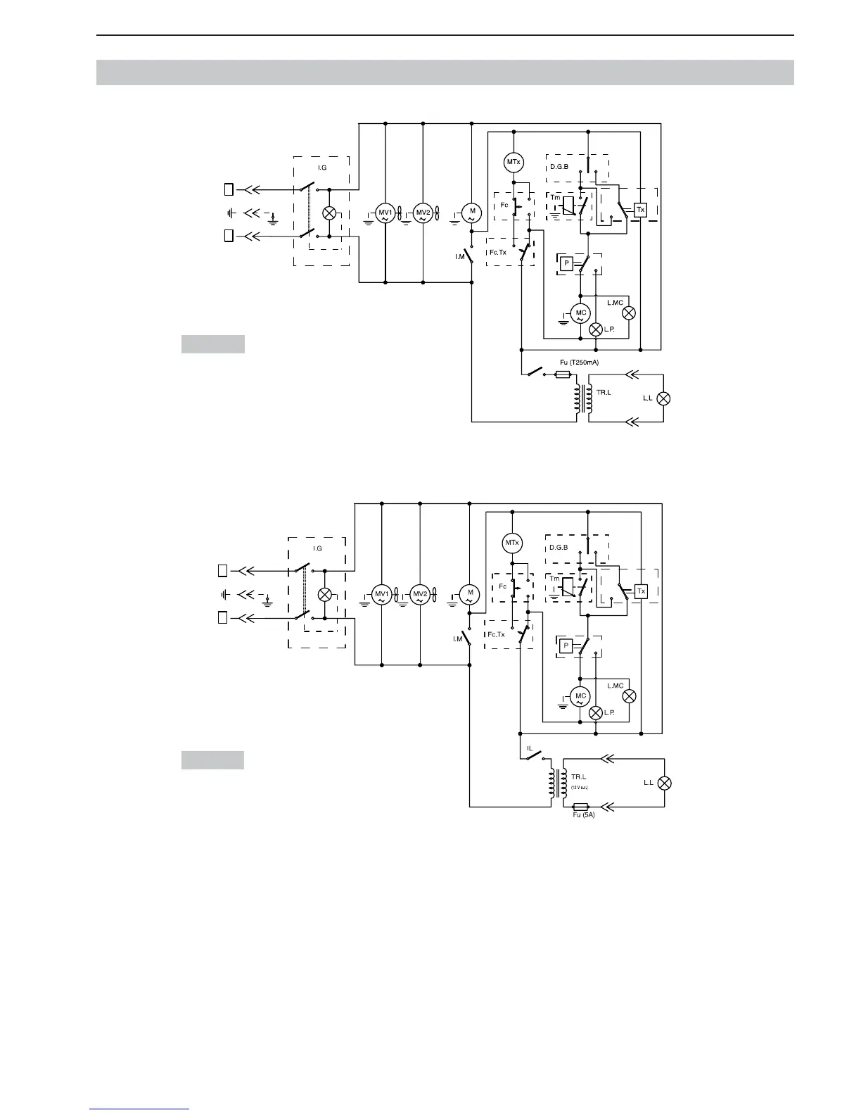
10. SCHEMI ELETTRICI DI PRINCIPIO (GRANITORE 1 - 1 FF)
230 Volt
115 Volt
0
I
I
0
IL
0
I
0
I
I
0
II
F
N
(12 V a.c.)
0
I
I
0
0
I
0
I
I
0
II
F
N

Table of Contents