EasyManua.ls Logo

Sharp AR-M355N - G Fax Mode (Condition Settings Screen); Fax Mode (Condition Settings Screen)

Sharp AR-M355N
380 pages
Print Icon
To Next Page IconTo Next Page
To Next Page IconTo Next Page
To Previous Page IconTo Previous Page
To Previous Page IconTo Previous Page
Loading...
A LOOK AT THE OPERATION PANEL
1-4
FAX MODE (CONDITION SETTINGS SCREEN)
The condition settings screen of fax mode is displayed by pressing the [IMAGE SEND] key while the document filing
mode (printer mode), copy mode, or job status screen appears in the touch panel. In the explanations that follow, it
is assumed that the initial screen that appears after pressing the [IMAGE SEND] key is the condition settings screen
(shown below). If you have set the display to show the address book screen (following page) when the [IMAGE
SEND] key is pressed, touch the [CONDITION SETTINGS] key in the address book screen to display the condition
settings screen.
"Default display settings" (page 8-4) in the key operator programs can be used to select whether the condition settings
screen (below) appears or the address book screen (next page) appears when the [IMAGE SEND] key is pressed.
When the network scanner option is installed, you can select whether the "E-MAIL/FTP" screen or the "INTERNET
FAX" screen appears when the [IMAGE SEND] key is pressed (the selection is made in the key operator programs).
Condition settings screen
The display is initially set (factory setting) to show the following condition settings screen as the initial screen.
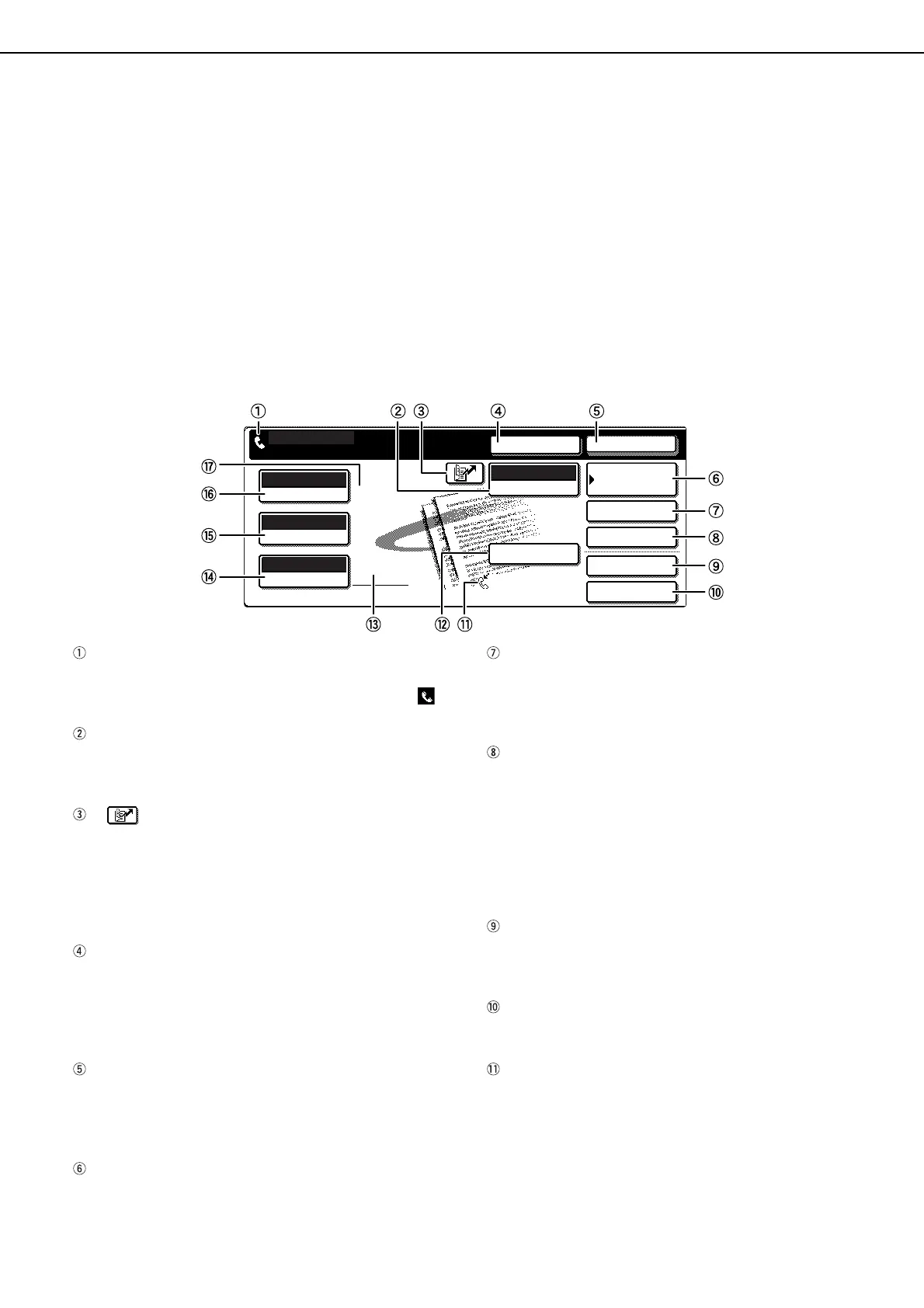
Message display
Messages appear here to indicate the current
status of the machine. The icon at left ( )
indicates fax mode.
[MODE SWITCH] key
Use this key when the network scanner option is
installed to switch between the "E-MAIL/FTP" and
"INTERNET FAX" screens
[ ] key (Speed dial key) (page 1-12)
When a one-touch dial key or group key is stored in
the address book, the machine automatically
assigns it a 3-digit number (called a Speed Dial
number in this manual). This key and the Speed Dial
number can be used to abbreviate the transmission
procedure (see Speed Dialing on page 2-4).
[SPEAKER] key (page 1-12)
Touch the [SPEAKER] key to dial and transmit a
fax manually.
During dialing it changes into the [PAUSE] key, and
after pressing the [SUB ADDRESS] key it changes
into the [SPACE] key.
[RESEND] key (page 1-12)
Touch this key to redial the number most recently
dialed with the numeric keys or a one-touch dial
key. After dialing, this key changes into the [NEXT
ADDRESS] key.
[ADDRESS BOOK] key (page 2-4)
Touch this key to display the address book screen
(next page). Touch this key when you want to use an
auto-dial number (one-touch dialing or group dialing).
[ADDRESS REVIEW] key (page 3-3)
When performing a broadcast transmission, touch
this key to check your selected destinations. The
selected destinations will appear and any
unneeded destinations can be deleted.
[SPECIAL MODES] key
Touch this key to select one of the following special
functions:
Edge erase (page 3-4)
Dual page scan (page 3-5)
Timer transmission (page 3-6)
2in1 (page 3-7)
Card shot (page 3-8)
Job build mode (page 3-10)
Polling (page 3-13)
Memory box (page 3-15)
Program (page 3-17)
Transaction report (page 3-12)
[FILE] key*
Touch this key to store a document image that you
are transmitting in the hard disk (this includes
selecting a user name, file name, and location).
[QUICK FILE] key*
Touch this key to store a document image that you
are transmitting in the temporary storage folder.
Memory and reception mode display
This shows the amount of fax memory that is free
and the currently selected reception mode.
* Can only be used on the AR-M355N/AR-M455N.
The AR-M355U/AR-M455U models do not have this
function.
ADDRESS BOOK
AUTO
READY TO SEND.
ORIGINAL
STANDARD
RESOLUTION
AUTO
EXPOSURE
ADDRESS REVIEW
SPECIAL MODES
FILE
RESEND
SPEAKER
SUB ADDRESS
FAX
MODE SWITCH
QUICK FILE
AUTO RECEPTION
FAX MEMORY:100%
Tiger2_fax_sec.book 4 ページ 2004年9月16日 木曜日 午前8時53

Table of Contents

Other manuals for Sharp AR-M355N

Related product manuals