EasyManua.ls Logo

Sharp LC-32DH57E-BK - Page 15

Sharp LC-32DH57E-BK
134 pages
Print Icon
To Next Page IconTo Next Page
To Next Page IconTo Next Page
To Previous Page IconTo Previous Page
To Previous Page IconTo Previous Page
Loading...
LC-32DH57E-BK/RU-BK/S-BK
2 – 5
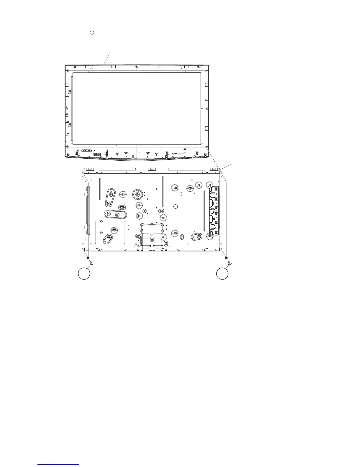
5. Removing of 32” LCD Panel Module.
1. Remove the 4 lock screws and detach the 32” LCD Panel Module from Front Cabinet.
1
Front Cabinet Ass'y
32" LCD Panel Module
11

Related product manuals