EasyManua.ls Logo

Sharp XE-A203 - Function Text

Sharp XE-A203
116 pages
Print Icon
To Next Page IconTo Next Page
To Next Page IconTo Next Page
To Previous Page IconTo Previous Page
To Previous Page IconTo Previous Page
Loading...
41
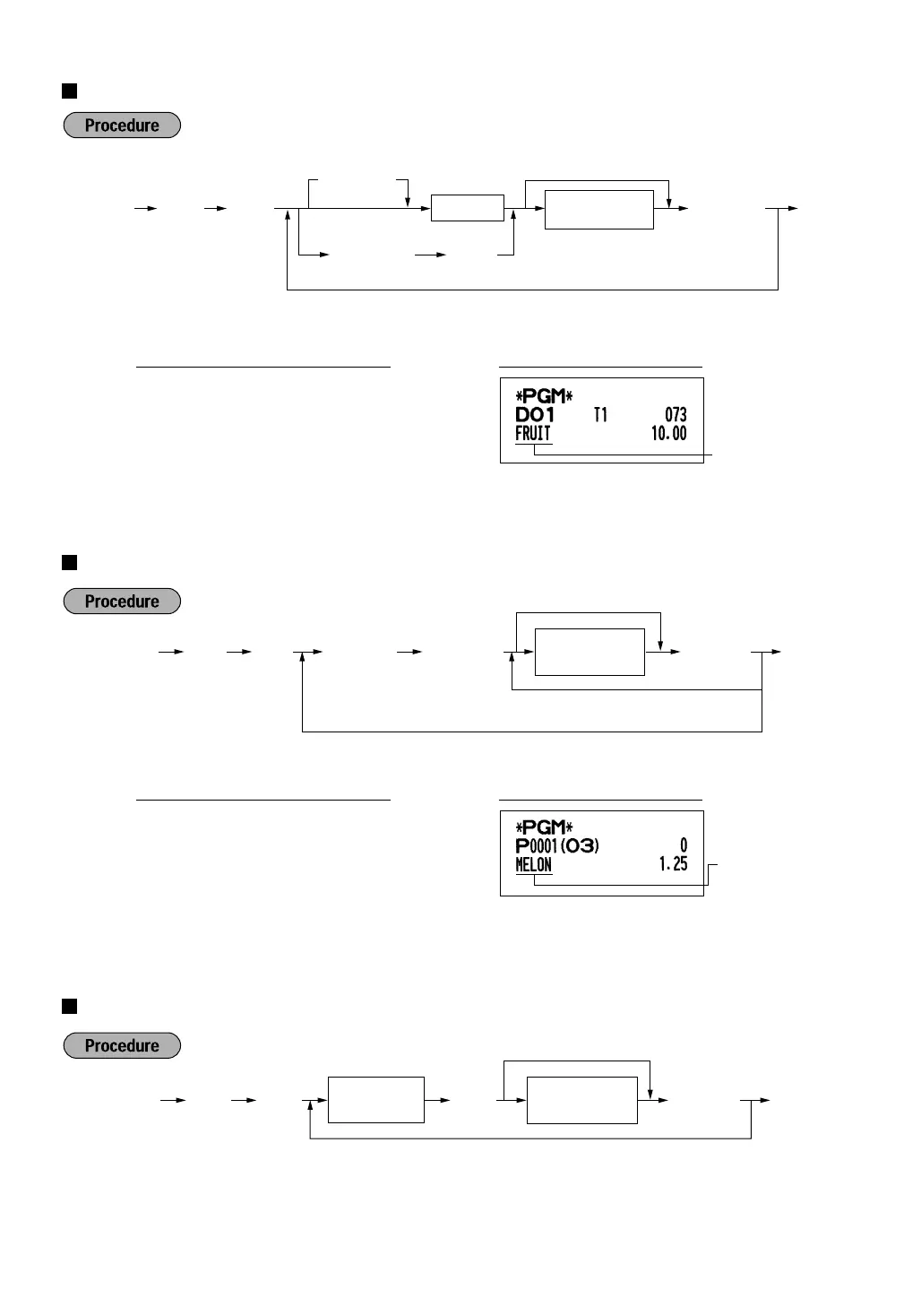
Department text
*To program departments 17 through 32, press the department shift key.
PLU text (item label)
Function text
* Function no.: See “List of function texts” shown on the following page.
Text
programmed for
PLU code 1
s
2
P
1
p
MELON
s
A
(Programming MELON to PLU1)
PrintKey operation example
Text
programmed for
dept. 1
s
1
P
!
FRUIT
s
A
(Programming FRUIT for dept.1)
PrintKey operation example
s 1 P
d
s
To program another dept.
To keep current setting
Dept. key
Character keys
(max.12 digits)
D
*
Dept. code
(1 to 99)
A
s P2 p
PLU code
When the next PLU code immediately
follows the one just entered
Character keys
(max.12 digits)
As
To keep current setting
To program another PLU
s P3 @
*Function no.
(max. 2 digits)
Character keys
(max. 8 digits)
A
To keep the current setting
s
To program another function text
A203_3 FOR THE MANAGER 06.5.23 3:15 PM Page 41

Table of Contents

Other manuals for Sharp XE-A203

Related product manuals