EasyManua.ls Logo

Sharp XE-A207 - Creating Clerk Data

Sharp XE-A207
108 pages
Print Icon
To Next Page IconTo Next Page
To Next Page IconTo Next Page
To Previous Page IconTo Previous Page
To Previous Page IconTo Previous Page
Loading...
22
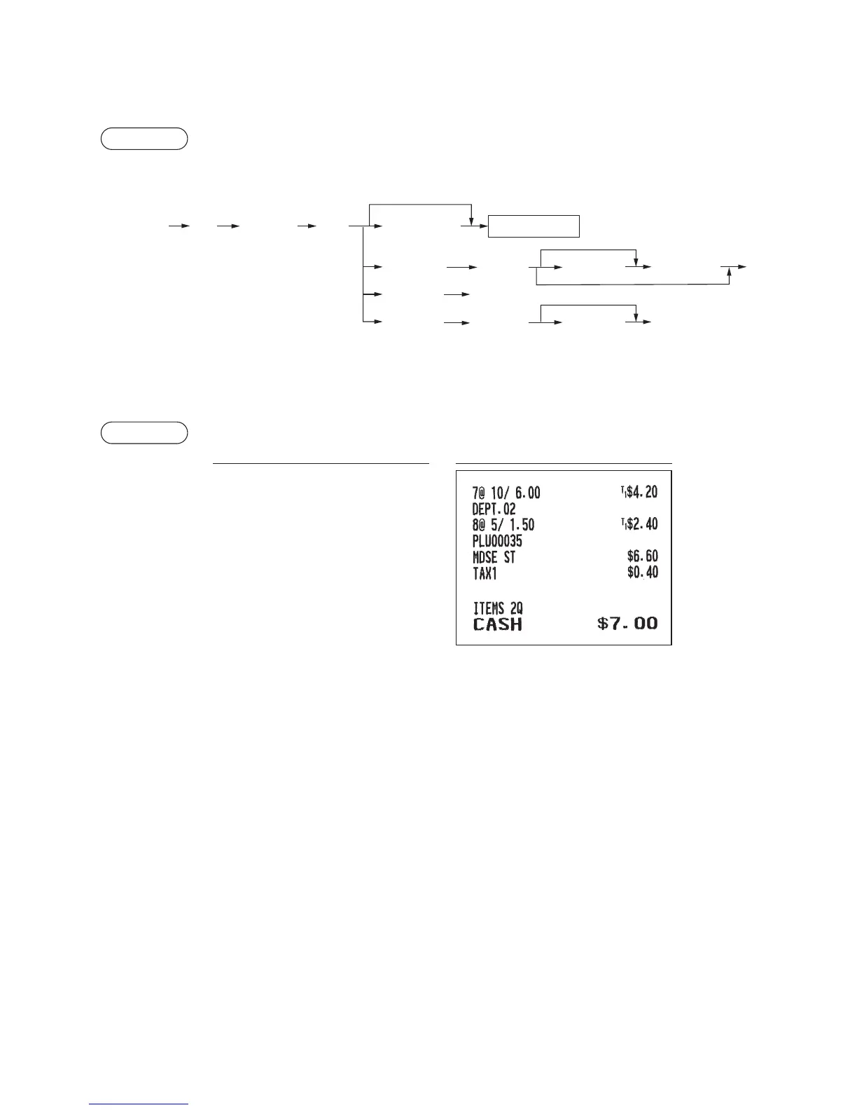
Entradasdesdoblamientodeprecios
Esta función sirve cuando un cliente quiere comprar una cantidad superior o inferior a la cantidad base de
un artículo suelto.
Procedimiento
@
@
d
p
p
A
A
Precio unidad
por cantidad
base
Base
cantidad
Cantidad
ventas
Tecla de departamento
Utilizando el precio de
unidad programado
Precio unidad
Precio unidad
Código
departamento
Código PLU
Código PLU
• Cantidad venta: Número entero de 4 cifras máximo + decimal de tres dígitos
• Cantidad base: Máximo dos dígitos (nº entero)
Ejemplo
Operacióntecla Impresión
7
@
10
@
600
"
8
@
5
@
35
p
A

Table of Contents

Other manuals for Sharp XE-A207

Related product manuals