EasyManua.ls Logo

Sharp XL-1000H

Sharp XL-1000H
72 pages
To Next Page IconTo Next Page
To Next Page IconTo Next Page
To Previous Page IconTo Previous Page
To Previous Page IconTo Previous Page
Loading...
XL-1000H/1100H
– 8 –
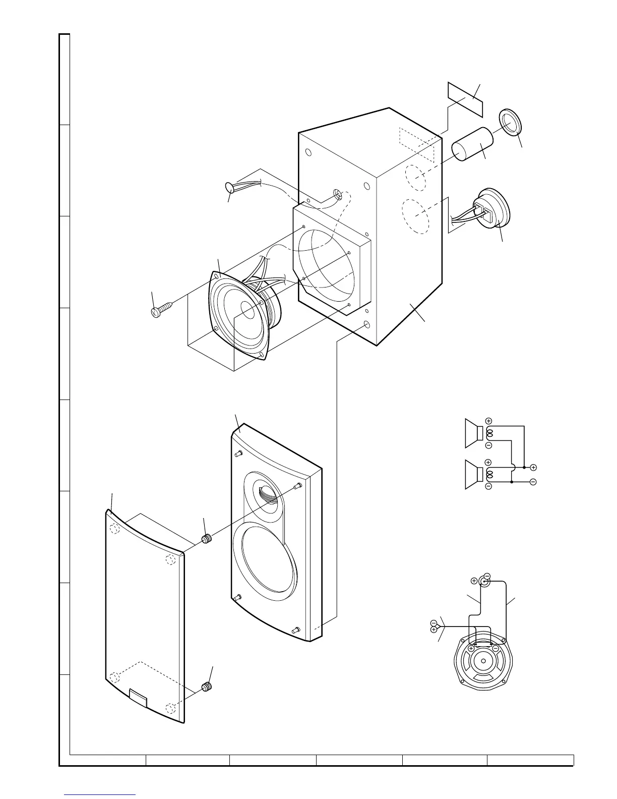
Figure 8 SPEAKER EXPLODED VIEW
A
B
C
D
E
F
G
H
1
23456
Tweeter
Tweeter
Woofer
Woofer
Black
Black
White Line
Red
SP3 (L-CH)
SP4 (R-CH)
SP1 (L-CH)
SP2 (R-CH)
SP1 (L-CH)
SP2 (R-CH)
SP3 (L-CH)
SP4 (R-CH)
902
903
901
905x2
905x2
907
906
904
908
909x4
SP1,2
SP3,4

Other manuals for Sharp XL-1000H

Related product manuals