EasyManua.ls Logo

Shure Microflex MXWAPT4 - Page 34

Shure Microflex MXWAPT4
100 pages
Print Icon
To Next Page IconTo Next Page
To Next Page IconTo Next Page
To Previous Page IconTo Previous Page
To Previous Page IconTo Previous Page
Loading...
Shure Incorporated
34/100
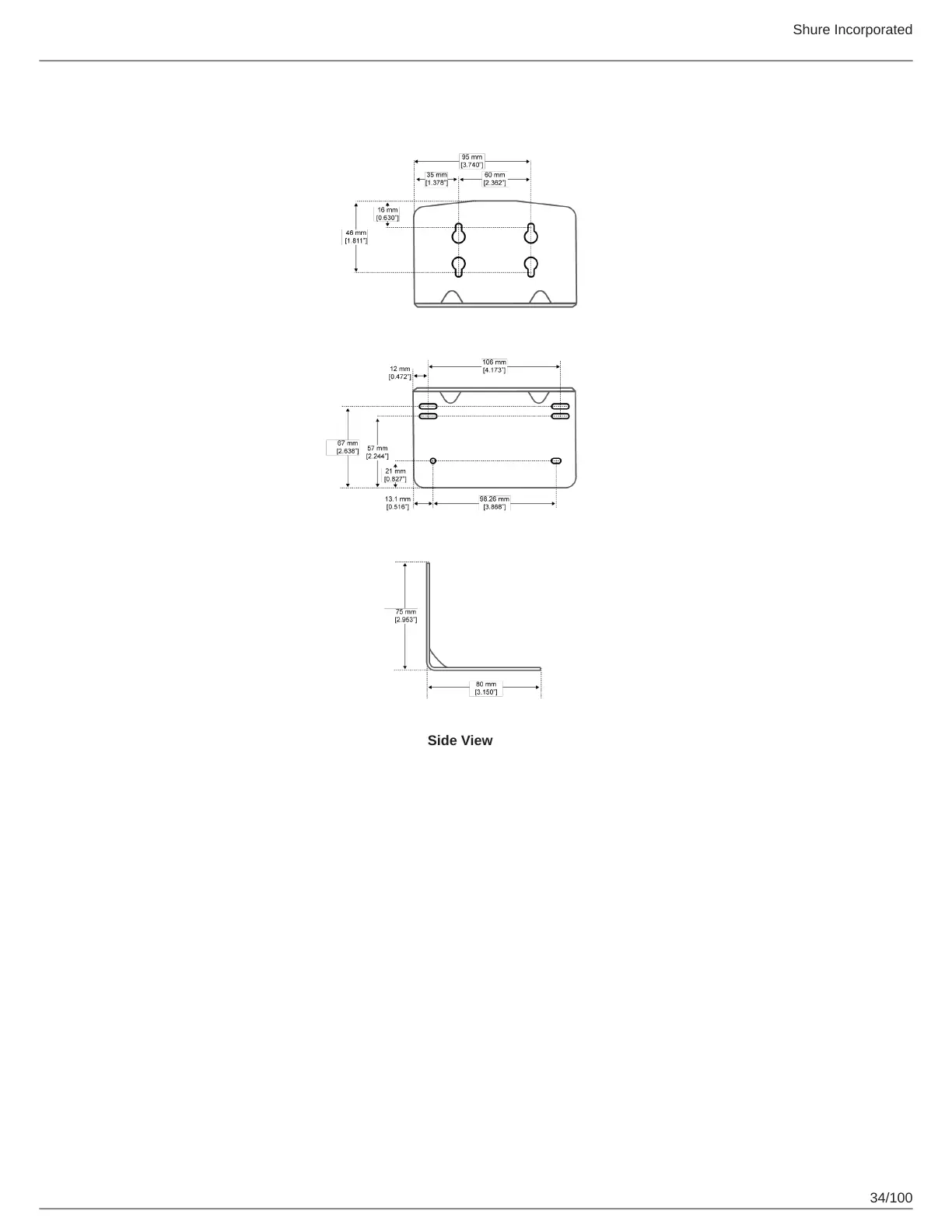
NCS2 Mount Dimensions
Side View

Table of Contents

Other manuals for Shure Microflex MXWAPT4

Related product manuals