EasyManua.ls Logo

Siemens 125-1957

Siemens 125-1957
48 pages
To Next Page IconTo Next Page
To Next Page IconTo Next Page
To Previous Page IconTo Previous Page
To Previous Page IconTo Previous Page
Loading...
APOGEE Unit Vent Controller
0 to 10 V Output Owner’s Manual
14 Siemens Building Technologies. Inc.
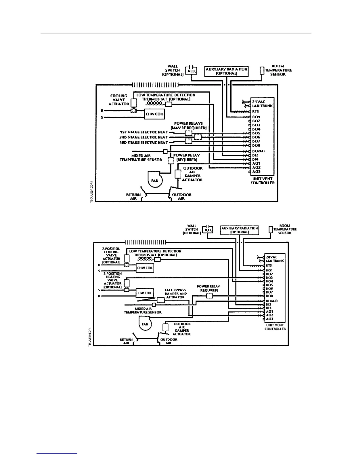
Figure 10. Application 2283 Control Drawing.
Figure 11. Application 2283 Control Drawing.

Related product manuals