EasyManua.ls Logo

Siemens ADE5300 - Fire Override (FOR) Inputs

Siemens ADE5300
16 pages
Print Icon
To Next Page IconTo Next Page
To Next Page IconTo Next Page
To Previous Page IconTo Previous Page
To Previous Page IconTo Previous Page
Loading...
Connections and LEDs
11
Siemens AB
Security Products 05.2015
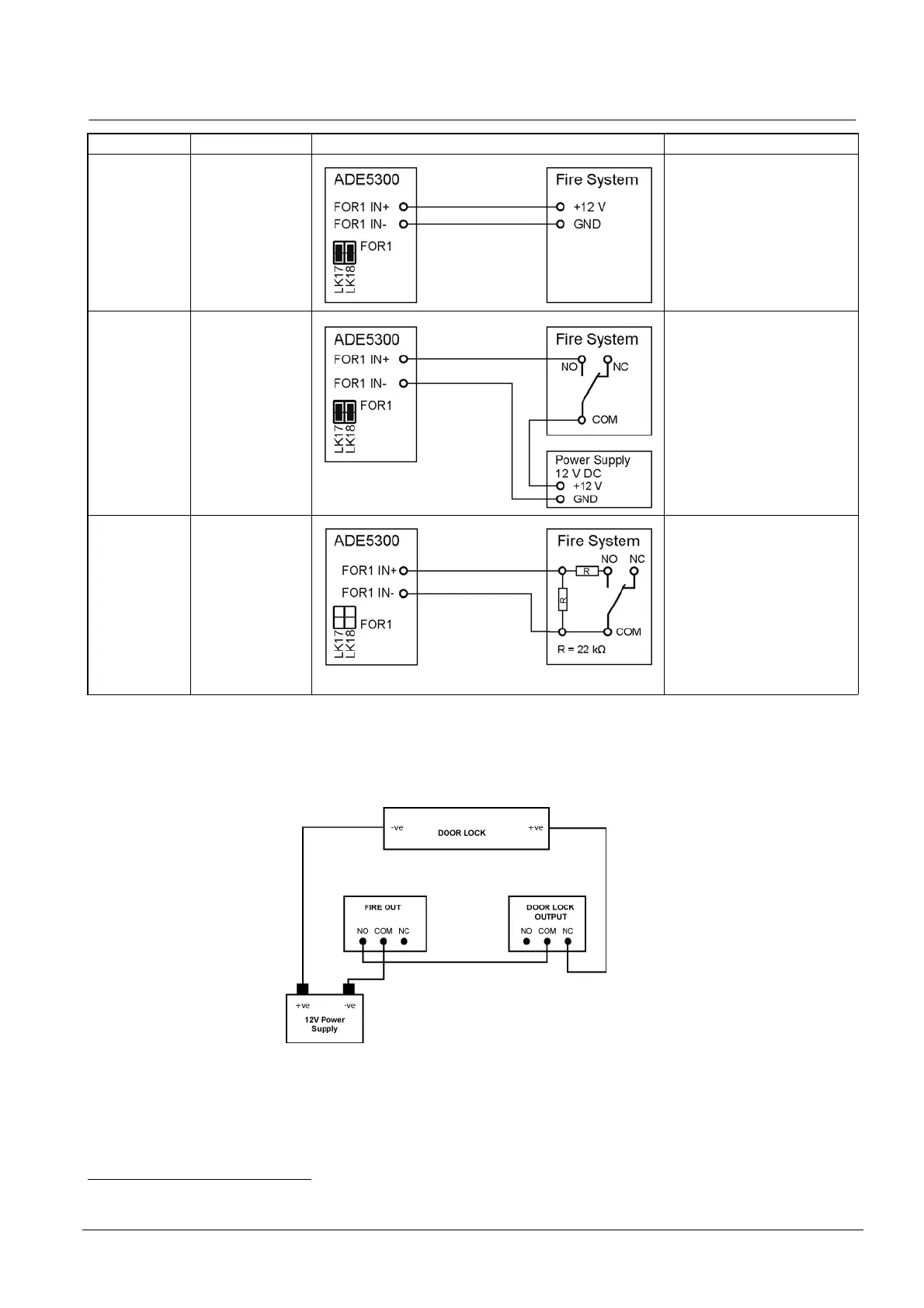
7.5 FOR inputs
ADE5300 External device Port Remark
FOR
input
(normal mode)
Fire alarm system
(+ UB)
Fire alarm system output:
Fire alarm system OK
+12 V
In case of fire alarm or
malfunction
0 V
FOR
input
(normal mode)
Fire alarm system
(relay contact)
Fire alarm system output:
Fire alarm system OK
contact between NO and COM
closed
In case of fire alarm or
malfunction
contact between NO and COM
open
FOR
input
(enhanced
mode)
Fire alarm system
(relay contact)
Fire alarm system output:
Fire alarm system OK
contact between NO and COM
closed
In case of fire alarm or
malfunction
contact between NO and COM
open
The following diagram provides an example for wiring a door lock in a fail-safe
mode for fire override operation.
FOR: Fire Override

Related product manuals