EasyManua.ls Logo

Siemens FDA221

Siemens FDA221
36 pages
To Next Page IconTo Next Page
To Next Page IconTo Next Page
To Previous Page IconTo Previous Page
To Previous Page IconTo Previous Page
Loading...
4
Installation
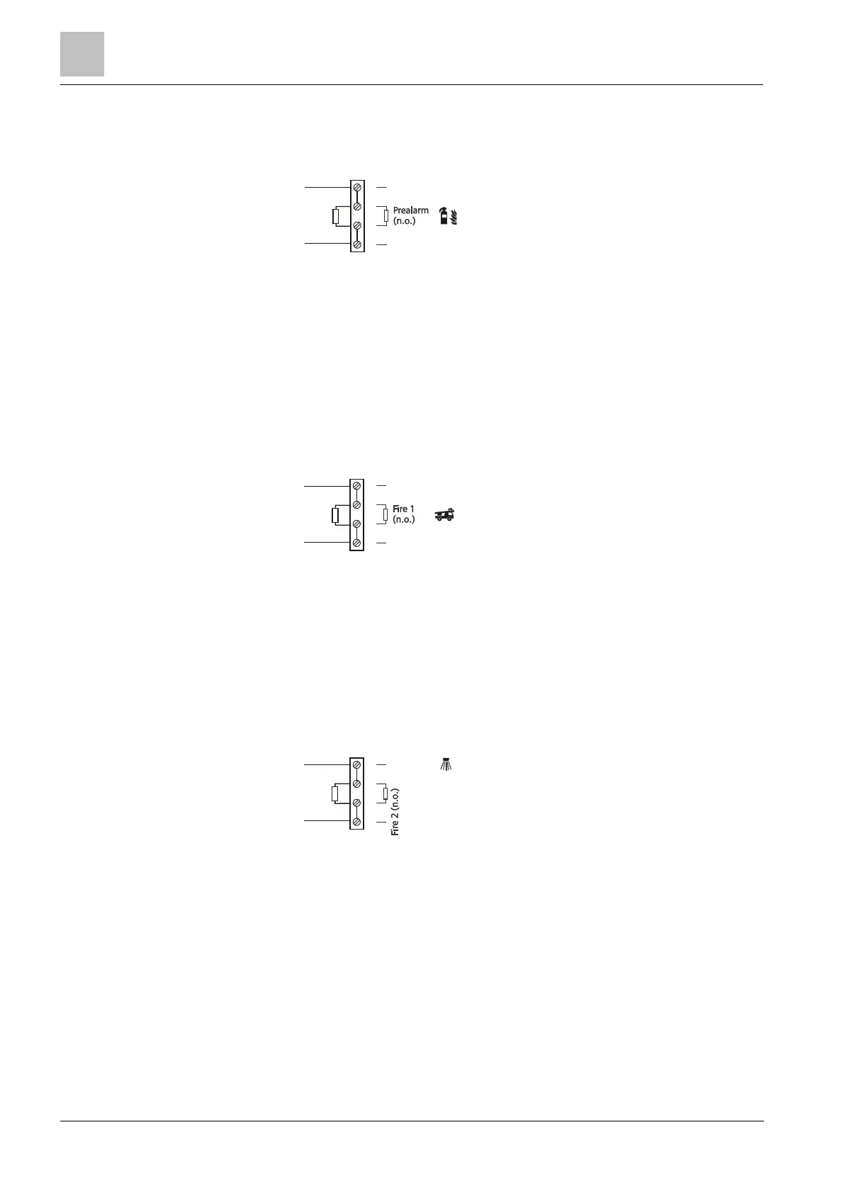
'PreAlarm' relay output for pre-alarm
4.8 'PreAlarm' relay output for pre-alarm
Relay output for 'pre-alarm' alarm level.
Connection: n.o. (default setting)
Properties
Activation occurs according to the chosen setting.
The connection can be changed to 'n.c.' with the 'FXS2051 ASD Configuration
Tool' software. The chosen setting applies automatically to 'Inspect', 'Prealarm',
'Fire 1', 'Fire 2'.
4.9 'Fire 1' relay output for fire alarm 1
Relay output for alerting the fire brigade.
Connection: n.o. (default setting)
Properties
Activation occurs according to the chosen setting.
The connection can be changed to 'n.c.' with the 'FXS2051 ASD Configuration
Tool' software. The chosen setting applies automatically to 'Inspect', 'Prealarm',
'Fire 1', 'Fire 2'.
4.10 'Fire 2' relay output for fire alarm 2
Relay output for alarm level 2 to activate external extinguishing equipment.
Connection: n.o.
Properties
Activation occurs according to the chosen setting.
The connection can be changed to 'n.c.' with the 'FXS2051 ASD Configuration
Tool' software. The chosen setting applies automatically to 'Inspect', 'Prealarm',
'Fire 1', 'Fire 2'.
28
Building Technologies A6V10345654_h_en_--
Fire Safety 2015-05-29
firealarmresources.com

Other manuals for Siemens FDA221

Related product manuals