EasyManua.ls Logo

Siemens SIMOCODE pro V PB - Page 97

Siemens SIMOCODE pro V PB
408 pages
Print Icon
To Next Page IconTo Next Page
To Next Page IconTo Next Page
To Previous Page IconTo Previous Page
To Previous Page IconTo Previous Page
Loading...
Description of system components
8.3 Operator panel with display
SIMOCODE pro
System Manual, 05/2019, A5E40507475002A/RS-AD/004
97
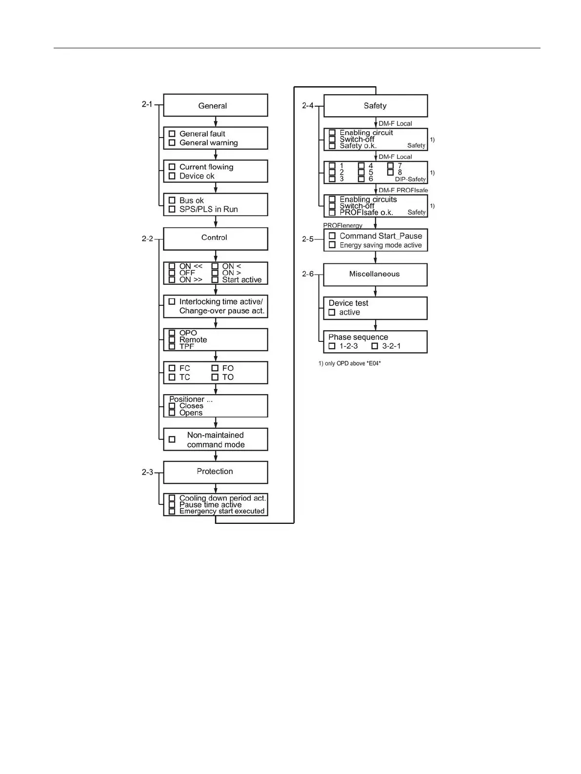
Figure 8-15 Status motor protection/motor control, operator panel with display -
PROFINET / EtherNet/IP

Table of Contents

Related product manuals