EasyManua.ls Logo

Siemens SINUMERIK 880 - Page 176

Siemens SINUMERIK 880
291 pages
Print Icon
To Next Page IconTo Next Page
To Next Page IconTo Next Page
To Previous Page IconTo Previous Page
To Previous Page IconTo Previous Page
Loading...
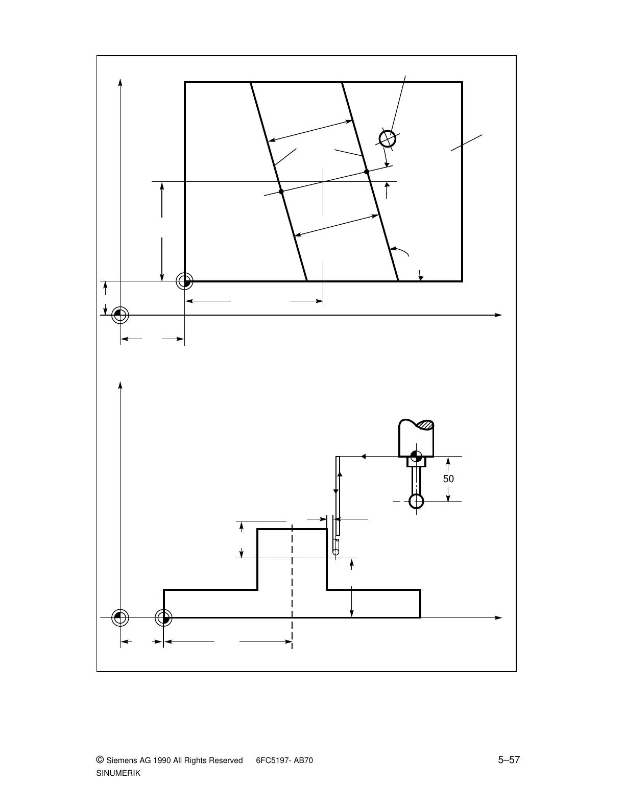
10.91 5 Measuring Cycles for Milling Machines and Machining Centres
5.3.4 L979 Measure web (at random angles)
Fig. 5.19 Measure web
P1
R24 (10)
P2
Workpiece
Probe
Z
X
M
(Applicate)
W
220
Y
X
M
70
(Ordinate)
W
50
(Abscissa)
70
N505
R28
N530
N510
R19
(Set value)
R42
Y
act
(R211)
Parallel
surfaces
Actual value
(R209)
100
70
X
act
(R210)
F
a
a
a
a
a
a
a
a
a
a
a
a
a
a
a
a
a
a
a
a
a
a
a
a
a
a
a
a
a
a
a
a
a
a
a
a
a
a
a
a
a
a
a
a
a
a
a
a
a
a
a
a
a
a
a
a
a
a
a
a
a
a
a
a
a
a
a
a
a
a
a
a
50
© Siemens AG 1990 All Rights Reserved 6FC5197- AB70 5–57
SINUMERIK 840/850/880 (BN)

Table of Contents

Other manuals for Siemens SINUMERIK 880

Related product manuals