EasyManua.ls Logo

Siemens SINUMERIK 880 - Page 184

Siemens SINUMERIK 880
291 pages
Print Icon
To Next Page IconTo Next Page
To Next Page IconTo Next Page
To Previous Page IconTo Previous Page
To Previous Page IconTo Previous Page
Loading...
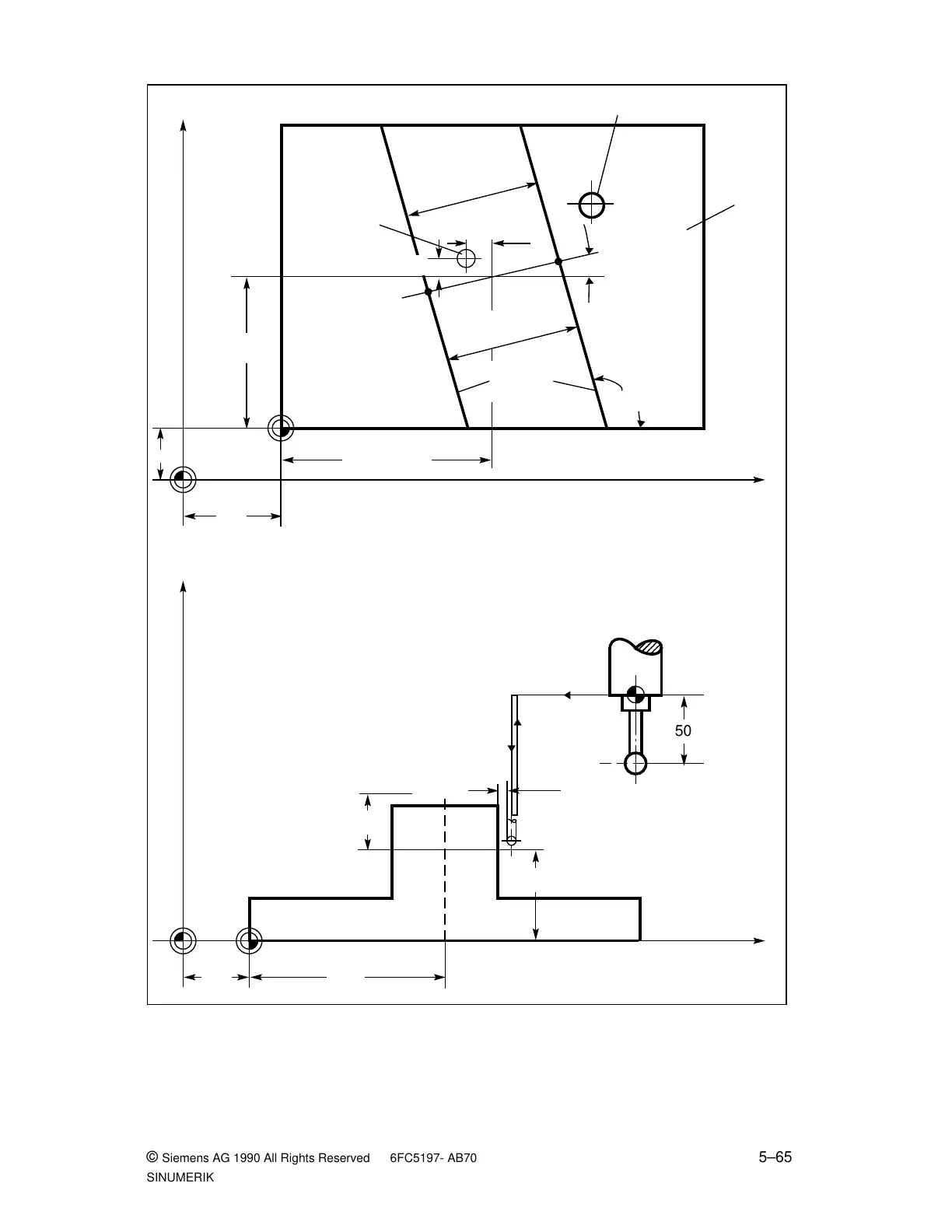
07.90 5 Measuring Cycles for Milling Machines and Machining Centres
5.3.8 L979 ZO determination at web (at random angles)
Fig. 5.23 ZO determination at web
N15
Set centre point
Parallel
surfaces
P1
R24 (10)
P2
Workpiece
Probe
Z
X
M
(Applicate)
W
220
Y
X
M
70
(Ordinate)
W
50
(Abscissa)
70
N10
R28
N30
R19
(Set value) R32
X
act
(R210)
Y
act
(R211)
100
70
Y (R214)
X
(R213)
Actual value
(R209)
F
a
a
a
a
a
a
a
a
a
a
a
a
a
a
a
a
a
a
a
a
a
a
a
a
a
a
a
a
a
a
a
a
a
a
a
a
a
a
a
a
a
a
a
a
a
a
a
a
a
a
a
a
a
a
a
a
a
a
a
a
a
a
a
a
a
a
a
a
a
a
a
a
50
© Siemens AG 1990 All Rights Reserved 6FC5197- AB70 5–65
SINUMERIK 840/850/880 (BN)

Table of Contents

Other manuals for Siemens SINUMERIK 880

Related product manuals