EasyManua.ls Logo

SilverBack B5402W - Page 6

SilverBack B5402W
12 pages
Print Icon
To Next Page IconTo Next Page
To Next Page IconTo Next Page
To Previous Page IconTo Previous Page
To Previous Page IconTo Previous Page
Loading...
6
Figure 6
Figure 5
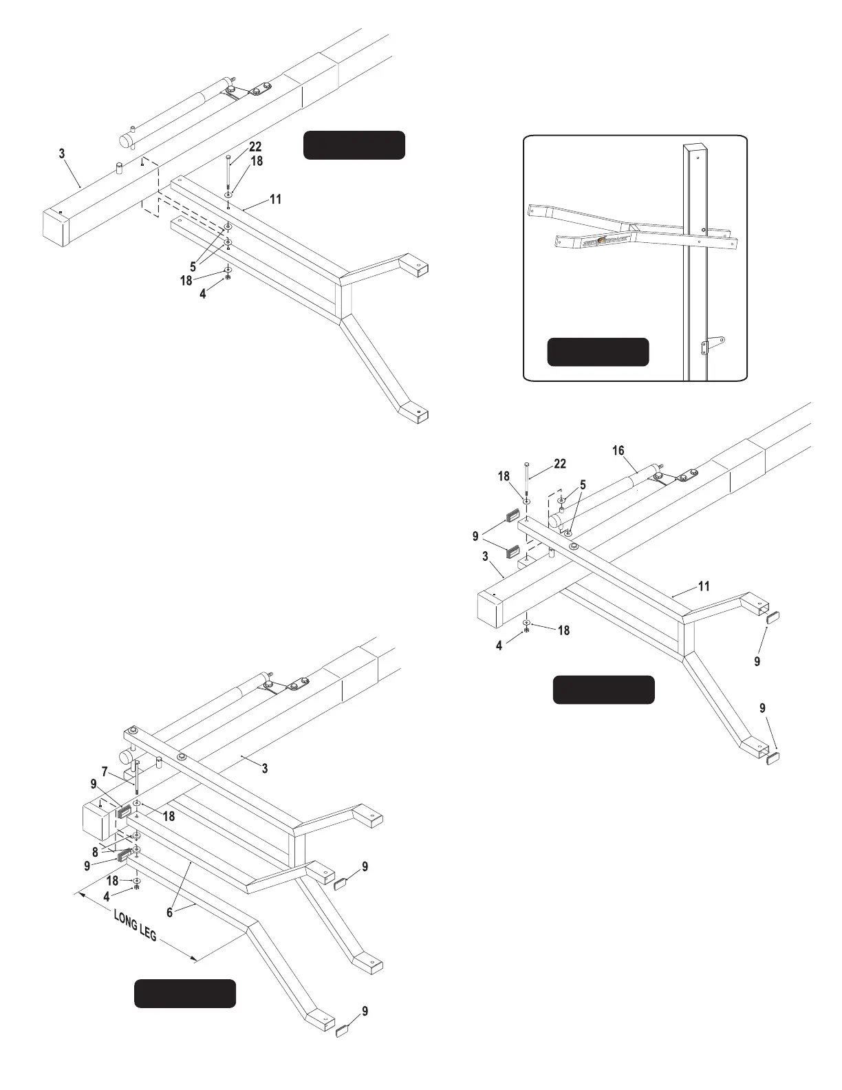
11. Attach long leg of Upper Arms (#6) to Top Pole (#3), as
shown in Figure 7, using a bolt (#7), two flat washers (#18),
two spacers (#8) and one lock nut (#4).
Note: Tighten bolts snug but, do not over tighten. Board
Arms must pivot freely.
12. Insert four Tube Plugs (#9) into open ends of Upper Arms
(#6). It may be necessary to use a rubber mallet to tap plug
9. Secure Actuator (#16) to Lower Arms (#11) using one bolt
(#22), two flat washers (#18), two plastic washers (#5) and
one lock nut (#4). See Figure 6. Tighten both bolts (#22)
securing Lower Arm (#11).
Note: Tighten bolts snug but, do not over tighten. Board
Arms must pivot freely.
10. Insert four Tube Plugs (#9) into open ends of Lower Arms
(#11). It may be necessary to use a rubber mallet to tap them
Figure 7Figure 7
8. Attach lower arms (#11) to Top Pole (#3), as shown in
Figure 5, using a hex bolt (#22), two flat washers (#18),
two plastic washers (#5) and lock nut (#4).
Note: make sure lettering is right side up. (See Side View).
DO NOT tighten bolt (#22) at this time. (See Figure 5.)
SIDE VIEW
in. See Figure 6. Note: Tube plugs may be pre-installed
by the factory.
in. See Figure 7. Note: Tube plugs may be pre-installed
by the factory.