EasyManua.ls Logo

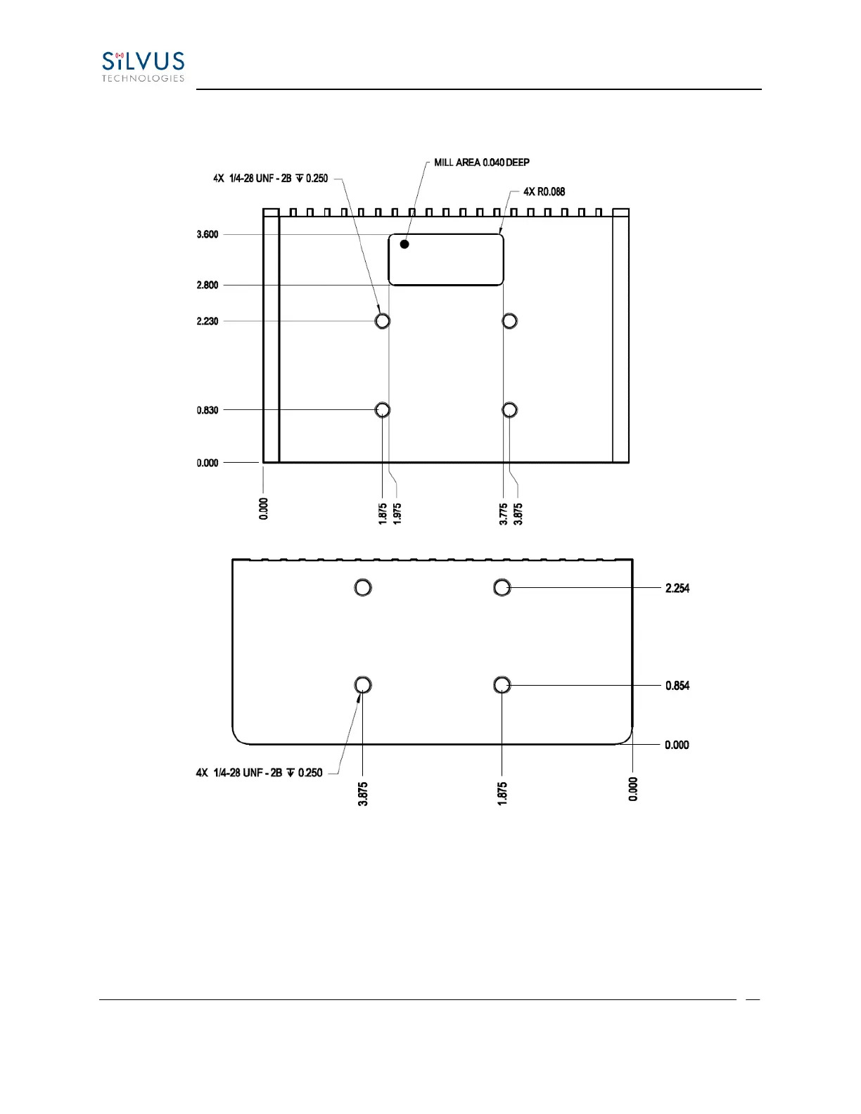
Silvus StreamCaster SC4400 - SC3500;SC3800 Phase II Enclosure Mounting Pattern; Figure 26 SC3500;SC3800 Phase II Enclosure Mounting Pattern for Back of Enclosure (Top) and Bottom

Silvus StreamCaster SC4400
158 pages
Print Icon
To Next Page IconTo Next Page
To Next Page IconTo Next Page
To Previous Page IconTo Previous Page
To Previous Page IconTo Previous Page
Loading...
StreamCaster MIMO Radio User Manual 4/30/19
10017C000 Silvus Technologies Confidential Page
4.3.6 SC3500/SC3800 Phase II Enclosure Mounting Pattern
Figure 26 SC3500/SC3800 Phase II Enclosure Mounting Pattern for Back of Enclosure (top) and Bottom of Enclosure (bottom)

Table of Contents

Related product manuals