EasyManua.ls Logo

Sime 1R - Page 43

Sime 1R
Print Icon
To Next Page IconTo Next Page
To Next Page IconTo Next Page
To Previous Page IconTo Previous Page
To Previous Page IconTo Previous Page
Loading...
vleËilce z dvema cingiranima
kockama.
Vstavimo sprednji preËen (4) na
spodnje vleËilce preden blokira-
mo ogelna z dvema slepima
kockama.
Obloæimo peË iz litega æeleza s
stekleno volno (1).
Vstavimo stranici (5) in (6) na
ogelna z desetimi vijaki ter jih
blokiramo zadaj s kockami, ki so
vstavljene na vleËilcih.
Montiramo zadnji, spodnji
preËnik (7) z osmimi vijaki.
Montiramo sprednji, zgornji
preËnik (8) s πestimi vijaki.
Pritrdimo komandno ploπËo (12)
na pokrov (13) z blokaæno kocko
(14).
Razpletemo kapilare termosta-
tov in toplomerja, ter vstavimo
sonde v tulec (11), blokiramo
vse s sponko, ki jo najdemo v
embalaæi.
Stisnimo grelno sondo hidrome-
tra na oviralno loputo (10).
Sestavljanje konËamo s pritrdit-
vijo pokrova (13) in sprednjega
preËnika (9) na stranice.
OPOMBA: Obdræati z dokumenti
peËi “Potrdilo o odobritvi peËi” ki
so vloæeni v komori.
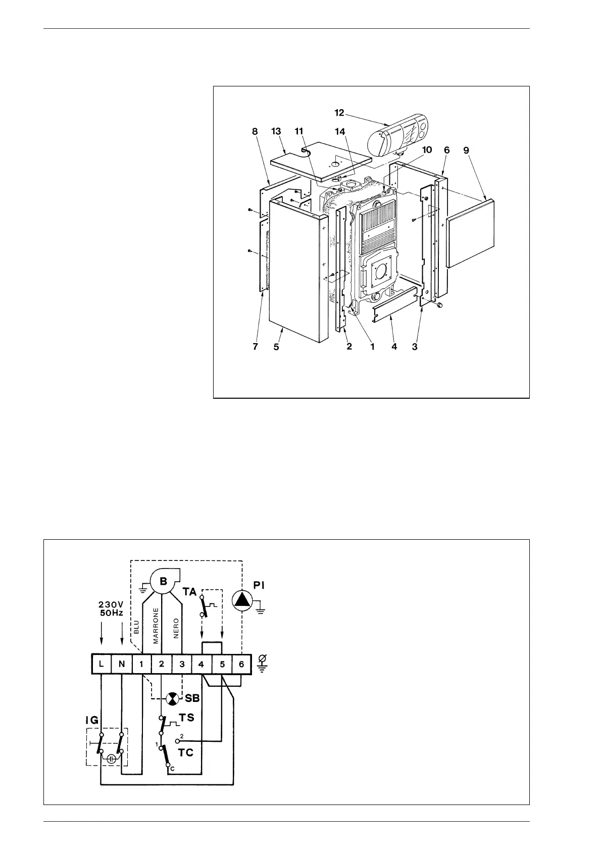
2.7 ELEKTRI»NA
PRIKLJU»ITEV
PeË napaja elektriËni tok 230V -
50Hz enofazne napetosti s
pomoËjo glavnega stikala, ki ga
πËitijo varovalke. Kabelj termosta-
ta za sobno toploto, katerega
instalacija je obvezna, da bomo
dobili boljπo regulacijo temperatu-
re v sobah, ga bomo morali pritr-
diti na spojke 4-5 potem ko smo
odstranili povezovalni mostiË med
spojkama (risba 9).
KonËno prikljuËimo πe kabelj, ki
napaja gorilnik.
OPOMBA:
Podjetje SIME odklanja
kakrπnokoli odgovornost za
poπkodbe oseb, do katerih bi
priπlo zaradi neozemljitve peËi.
41
LEGENDA
IG Glavno stikalo
TA Prostorni termostat (posebej)
PI Pumpa za kroæenje vode (posebej)
TC Termostat peËi
TS Varnosni termostat
B Gorilnik (posebej)
SB Kontrolna luËka motnje
OPOMBA: S prikljuËitvijo TA obstra-
niti povezavo med spojkami 4 in 5.
Risba 8
Risba 9

Related product manuals