EasyManua.ls Logo

Sime 1R - Page 51

Sime 1R
Print Icon
To Next Page IconTo Next Page
To Next Page IconTo Next Page
To Previous Page IconTo Previous Page
To Previous Page IconTo Previous Page
Loading...
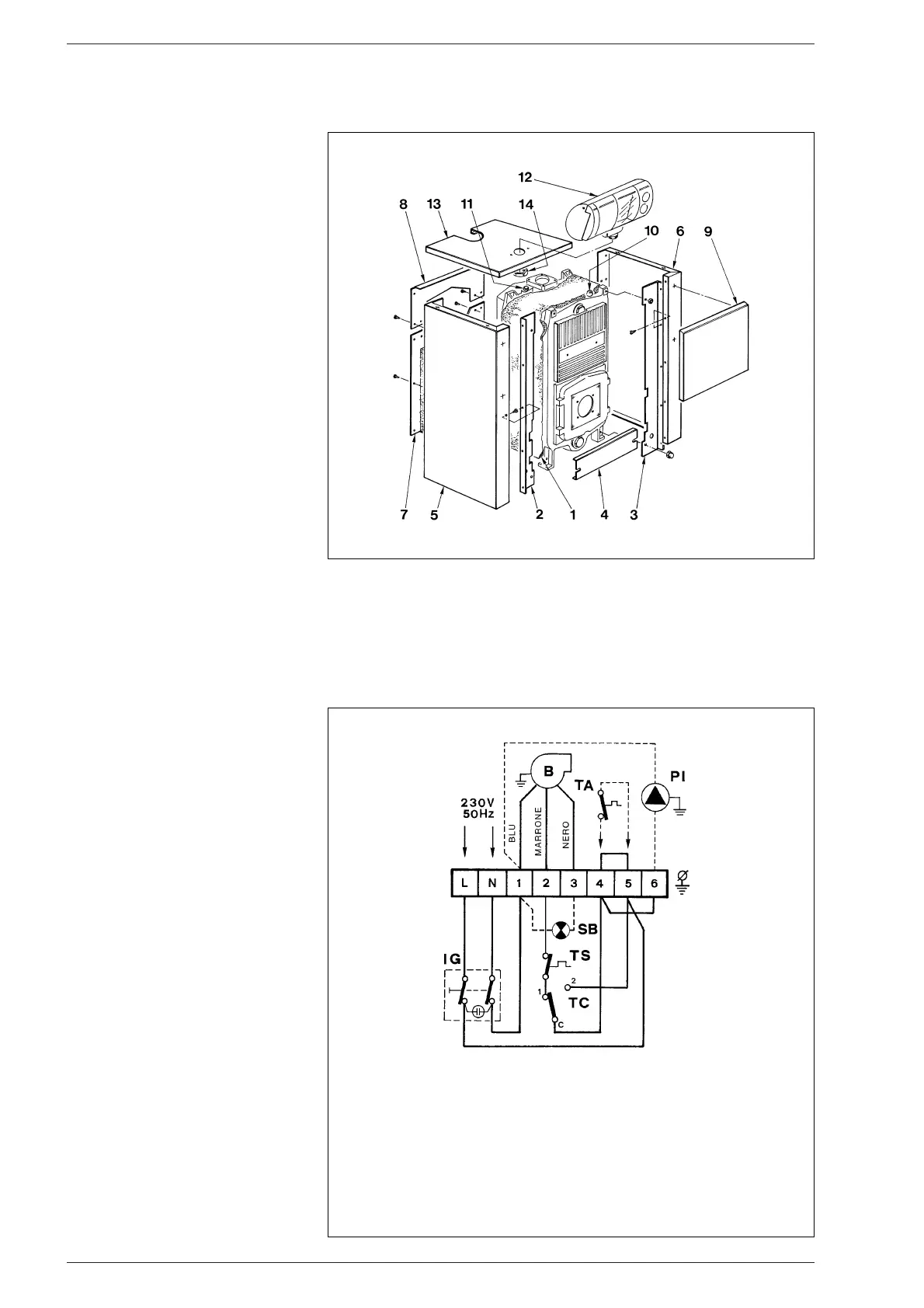
2.6 MONTAGE VAN
DE MANTEL
De mantel en het instrumentenbord
worden in aparte kartonnen verpakkin-
gen afgeleverd. In de verpakking van
de mantel bevindt zich het zakje met
de documentatie van de verwarming-
sketel en de reeds geprepareerde gla-
swol om het gietijzeren verwarmingsli-
chaam te isoleren. Om de onderdelen
van de mantel te monteren volgt u de
onderstaande richtlijnen (fig. 8):
bevestig het linkervoor-zijprofiel (2)
en het rechtervoor-zijprofiel (3) met
de beide meegeleverde verzinkte
moeren aan de bovenste trekstan-
gen;
doe het voorste dwarsstuk (4) op de
onderste trekstangen voordat u de
hoekprofielen met de beide meege-
leverde blinde moeren vastzet;
isoleer het gietijzeren lichaam met
glaswol (1);
maak de zijkanten (5) en (6) met de
tien meegeleverde zelftappende
schroeven aan de hoekprofielen
vast en maak deze aan de ach-
terkant met de moeren op de trek-
stangen vast;
monteer het achterste onderste
paneel (7) met de acht meegelever-
de zelftappende schroeven;
monteer het bedieningspaneel (12)
met de borgmoer (14) op de kap
(13);
rol de capillairs van de beide ther-
mostaten en de thermometer uit en
doe de betreffende sondes in de
mantel (11), zet alles vast met de
meegeleverde capillairklem;
schroef de sonde van de aquastaat
op de terugslagklep (10);
voltooi de montage door de kap (13)
en het voorpaneel (9) aan de zijkan-
ten vast te maken.
OPMERKINGEN: Het “Testcertifi-
caat” dat zich in de verbrandingska-
mer bevindt dient bij de documenta-
tie van de verwarmingsketel te wor-
den bewaard.
2.7 ELEKTRISCHE AANSLUITING
De ketel is voorzien van een stroom-
snoer en dient te worden gevoed met
een eenfasige spanning van 230V -
50Hz met behulp van een door zeke-
ringen beveiligde hoofdschakelaar.
Het snoer van de kamerthermostaat,
die gemonteerd moet worden om een
betere regeling van de kamertempe-
ratuur te verkrijgen, moet op de klem-
men 4-5 aangesloten worden nadat u
eerst de bestaande overbrugging
verwijderd heeft (fig. 9).
Sluit daarna het meegeleverde voe-
dingssnoer van de brander aan.
OPMERKINGEN:
De fabrikant wijst alle aansprake-
lijkheid af voor ongevallen die het
gevolg zijn van het niet aarden van
de ketel.
49
Fig. 8
LEGENDE
IG Hoofdschakelaar
TA Kamerthermostaat
(niet geleverd)
PI Installatiepomp (niet geleverd)
TC Ketelaquastaat
TA Kamerthermostaat
B Brander (niet geleverd)
SB Controlelamp bij hey in
veiligheid vallen van de ketel
OPMERKING:
Bij de aansluiting van de TA moet
de overbrugging tussen klemmen
4-5 worden verwijderd.
Fig. 9

Related product manuals