EasyManua.ls Logo

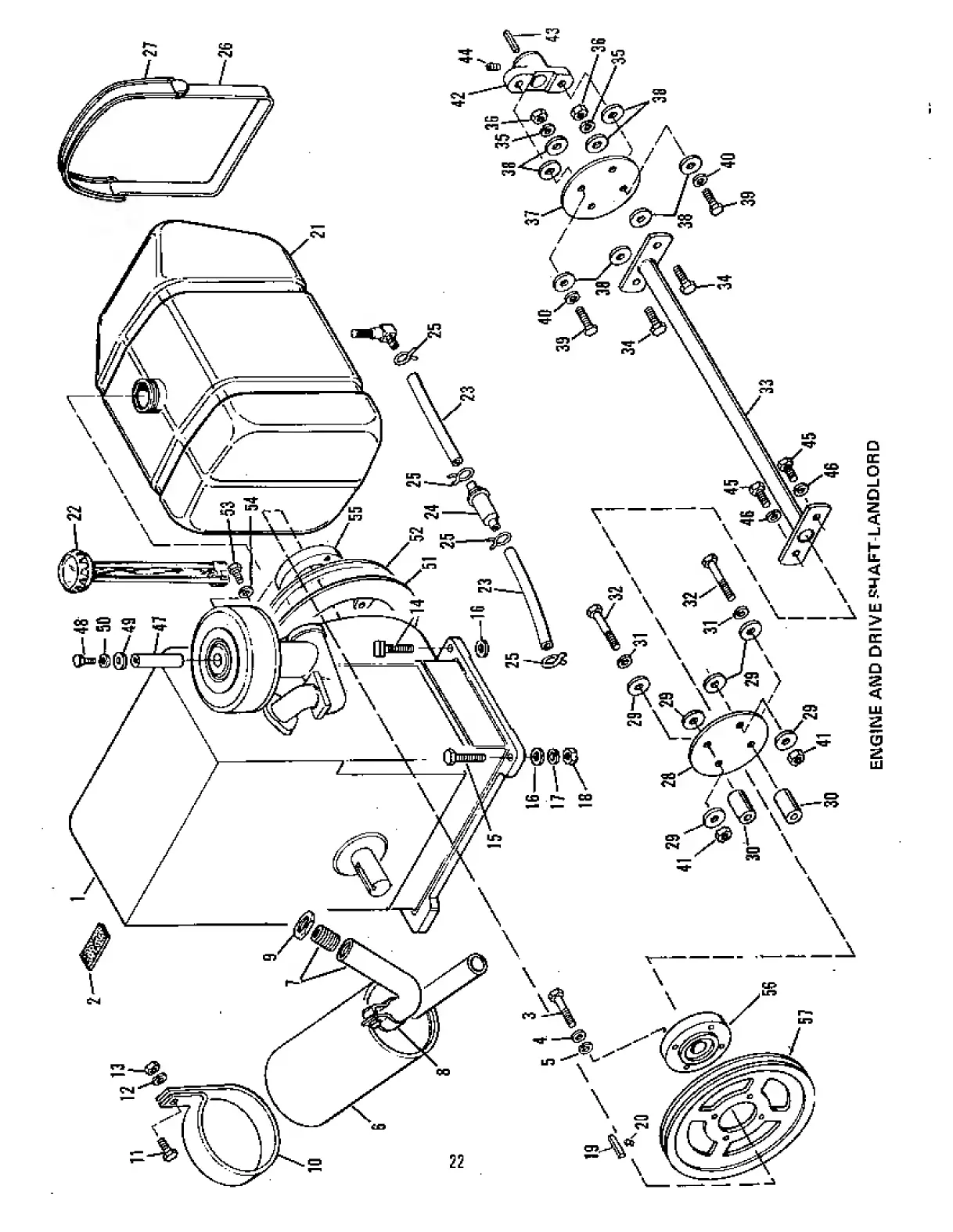
Simplicity 759 3415H - Parts Listing

Simplicity 759 3415H
44 pages
Print Icon
To Next Page IconTo Next Page
To Next Page IconTo Next Page
To Previous Page IconTo Previous Page
To Previous Page IconTo Previous Page
Loading...

Related product manuals