EasyManua.ls Logo

Simplicity 759 3415H - Page 32

Simplicity 759 3415H
44 pages
Print Icon
To Next Page IconTo Next Page
To Next Page IconTo Next Page
To Previous Page IconTo Previous Page
To Previous Page IconTo Previous Page
Loading...
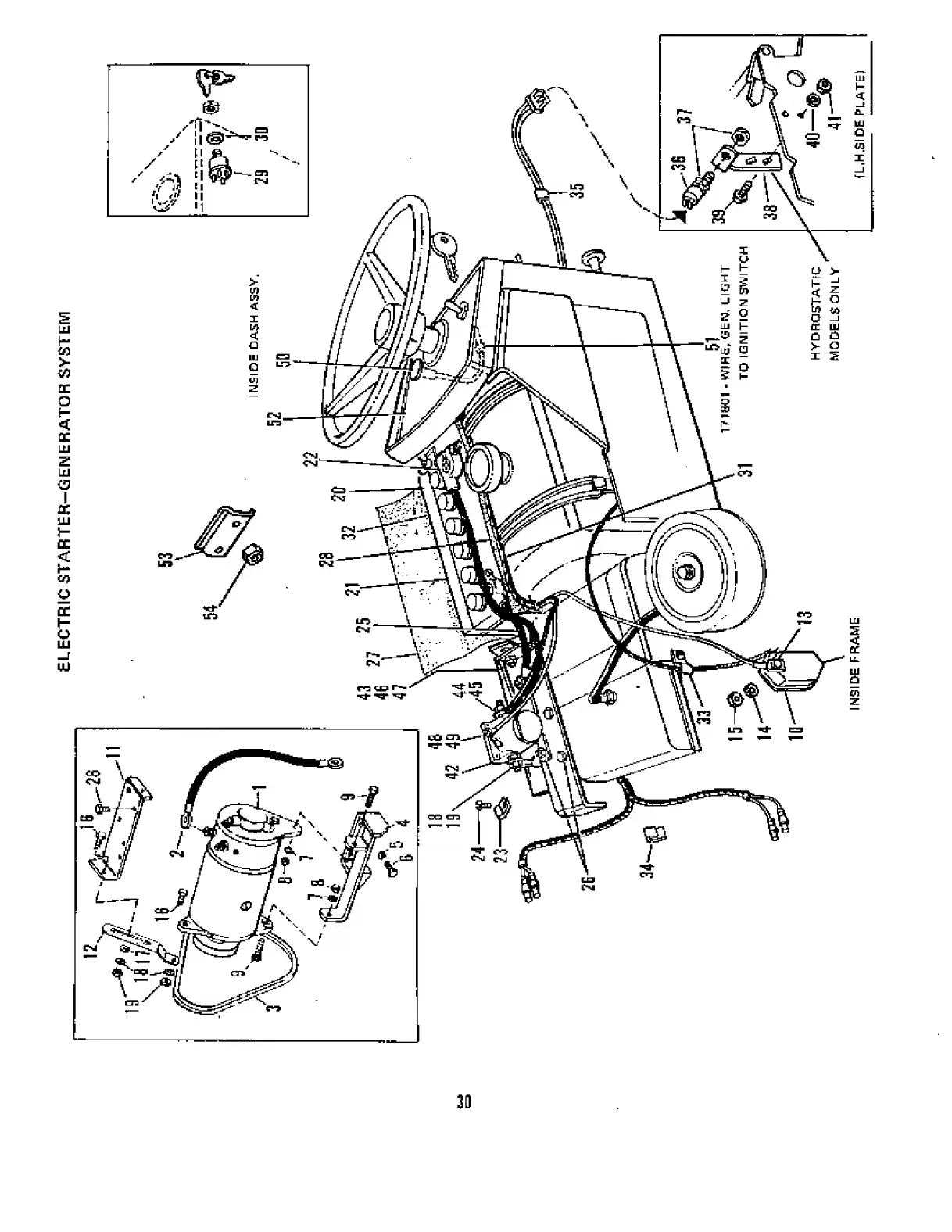
ELECTRIC
STARTER-GENERATOR
SYSTEM

Related product manuals