EasyManua.ls Logo

Singer 2808 - Needle to Hook Relationship

Singer 2808
114 pages
Print Icon
To Next Page IconTo Next Page
To Next Page IconTo Next Page
To Previous Page IconTo Previous Page
To Previous Page IconTo Previous Page
Loading...
Service Manual
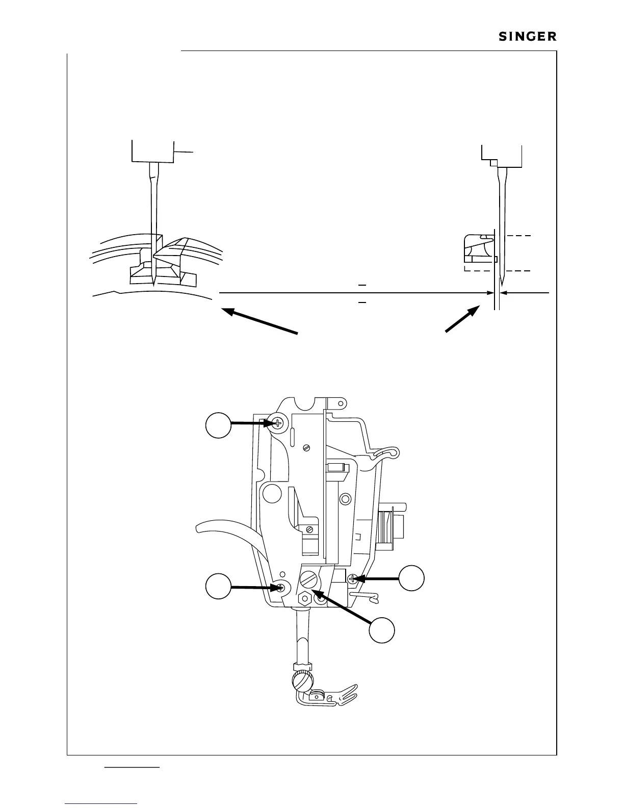
Needle to Hook Relationship
70
Rev. n .
o
ILLUSTRATION “A"
0,00 mm INTERFERENCE 0,10 mm CLEARANCE
.000” .004”INTERFERENCE CLEARANCE
A
B
D
C
358487-001 Mar./2005

Table of Contents

Other manuals for Singer 2808

Related product manuals