EasyManua.ls Logo

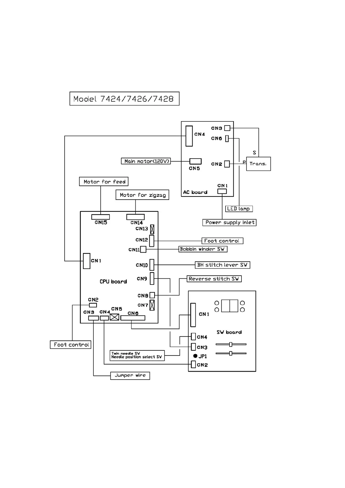
Singer CONFIDENCE 7463 - Wiring Diagram: Models 7424;7426;7428

Singer CONFIDENCE 7463
59 pages
Print Icon
To Next Page IconTo Next Page
To Next Page IconTo Next Page
To Previous Page IconTo Previous Page
To Previous Page IconTo Previous Page
Loading...
- 56 -

Other manuals for Singer CONFIDENCE 7463

Related product manuals