EasyManua.ls Logo

Skil SRT1039 - Montaje de la Mesa de Fresadora

Skil SRT1039
92 pages
Print Icon
To Next Page IconTo Next Page
To Next Page IconTo Next Page
To Previous Page IconTo Previous Page
To Previous Page IconTo Previous Page
Loading...
74
MONTAJE DE LA MESA DE FRESADORA
ADVERTENCIA
Desenchufe siempre la mesa de fresadora antes de instalar
accesorios o hacer cualquier ajuste.
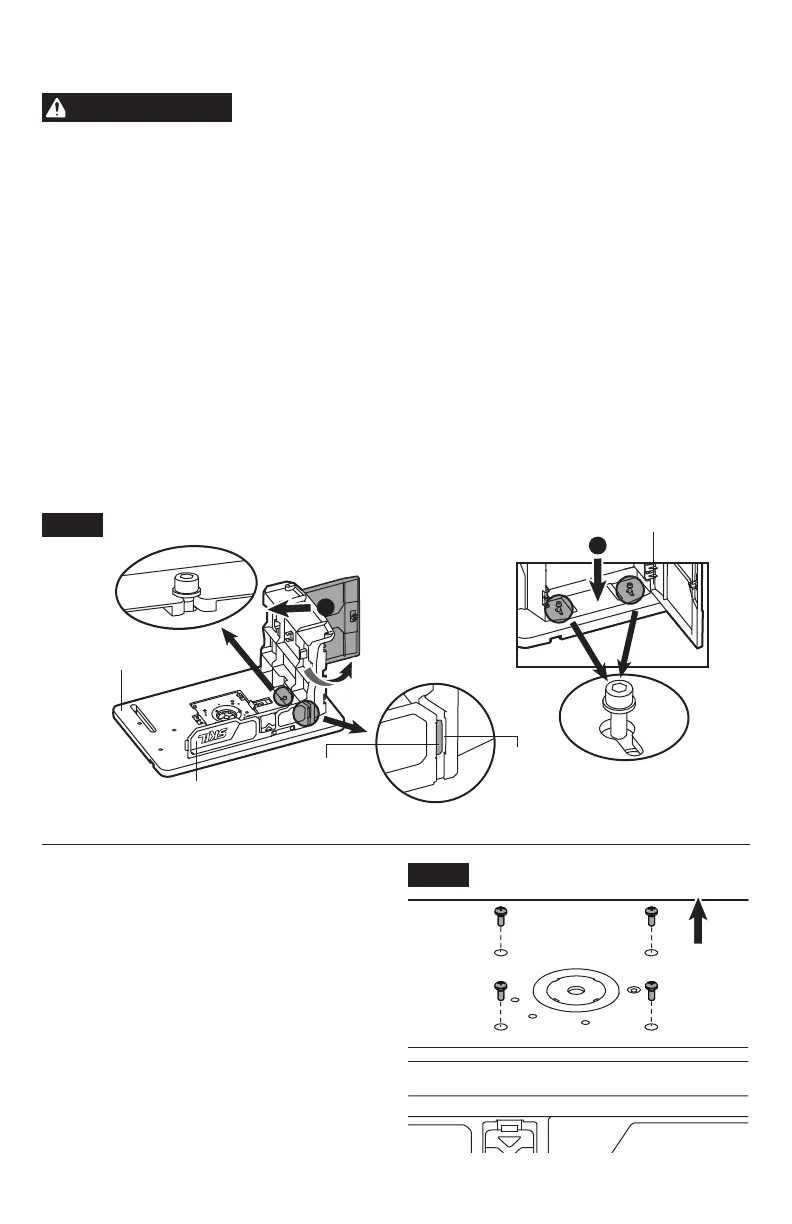
Instalación de las patas en la mesa (Fig. 2)
NOTA:
El ensamblaje de la mesa de fresadora tiene seis pernos hexagonales de cabeza
hueca preinstalados en la base de la mesa para instalar las dos patas de la mesa.
1. Coloque el ensamblaje de la mesa de fresadora en posición invertida sobre una supercie
nivelada y plana.
2. Aoje los tres pernos ubicados en el lado derecho de la base de la mesa.
3. Abra la puerta de la caja de herramientas y baje una de las patas sobre la base de la mesa
de la manera que se muestra en la ilustración. Asegúrese de que los dos pernos se inserten
a través de los dos agujeros de la caja de herramientas.
4. Empuje la pata hacia el centro de la mesa, hasta que el tercer perno esté insertado en la
ranura ubicada en el centro del lado interior de la pata. Al mismo tiempo, asegúrese de que
la lengua de la placa de montaje del interruptor encaje en la ranura de la pata.
5. Apriete los tres pernos de jación con las llave de combinación de 5 mm incluida.
6. Repita el proceso anterior con la otra pata de la mesa.
NOTA:
El sentido de apertura de ambas cajas de herramientas deberá ser hacia el lado del
interruptor de seguridad integrado.
a
b
Fig. 2
Base de la mesa
Placa de montaje del interruptor
Lengua
Caja de herramientas
Ranura
Retirada de la placa de montaje
de la fresadora de abrazadera
rápida de la base de la mesa
(Fig. 3a y 3b)
Esta mesa de fresadora incluye un sistema de
montaje de fresadora de abrazadera rápida,
el cual ha sido preinstalado en la fábrica antes
del envío.
1.
Utilizando la llave de combinación de 5 mm
incluida, aoje y retire los cuatro ensamblajes
de tornillo Phillips que jan la placa de
montaje a la mesa (Fig. 3a). Guarde los
pernos para uso futuro.
Fig. 3a

Table of Contents

Related product manuals