EasyManua.ls Logo

Skyjack SJ 4620 - 13 Platform Control Console

Skyjack SJ 4620
89 pages
Print Icon
To Next Page IconTo Next Page
To Next Page IconTo Next Page
To Previous Page IconTo Previous Page
To Previous Page IconTo Previous Page
Loading...
TM
Page 20 December 2007
SJIII Compacts & Conventionals
Component Identification Section 2 - Operation
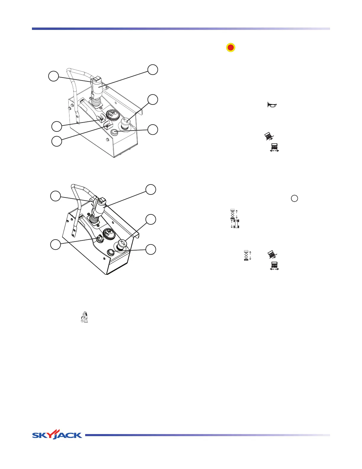
2.5-13 Platform Control Console
This removable control console is mounted at the right
front of the platform. It contains the following controls:
1
2
3
5
4
6
Figure 2-10. Platform Control Console
with Toggle Switch
1
2
3
7
4
Figure 2-11. Platform Control Console
with Rotary Switch
1. Lift/Drive/Steer Enable Trigger Switch - This
momentary
switch energizes the controller.
It must be held depressed continuously while
engaging either the lift/drive or steer functions.
2. Lift/Drive/Steer Controller - This one-hand lever
controls lift/drive and steer motions. Internal
springs return it to neutral when controller is
released.
3. Emergency Stop Button/Operation Light - This
button
, when depressed, disconnects
power to the control circuit. The operation light
indicates upper control availability and overload
status. When the light is continuously illuminated,
upper controls are available. When the light is
flashing, it signals an overload function. Refer to
Section 2.5-3.
4. Horn Pushbutton - This
pushbutton sounds
an automotive-type horn.
5. Inclined Drive/Level Drive Switch (If Equipped)
- This switch selects
inclined drive (low
speed/high torque) or
level drive (high
speed/low torque).
NOTE
Inclined drive (low speed/high torque) is
not available on models 3215 and 3219.
6. Lift/Off/Drive Switch - Selecting
off position
disconnects power from both lift and drive circuits.
Selecting
lift position energizes the lift circuit.
Selecting “
” drive position energizes the drive
circuit.
7. Lift/Inclined Drive/Level Drive Switch - This
switch selects
lift, inclined drive (low
speed/high torque) or
level drive (high
speed/low torque).
NOTE
Inclined drive (low speed/high torque) is
not available on 3215 and 3219 models.

Table of Contents

Other manuals for Skyjack SJ 4620

Related product manuals