EasyManua.ls Logo

Skyjack SJ 4620 - To Select Level Drive or Inclined Drive Mode; To Extend;Retract Manual Extension Platform

Skyjack SJ 4620
89 pages
Print Icon
To Next Page IconTo Next Page
To Next Page IconTo Next Page
To Previous Page IconTo Previous Page
To Previous Page IconTo Previous Page
Loading...
SJIII Compacts & Conventionals
December 2007 Page 41
TM
Section 2 - Operation Start Operation
2.10-7 To Select Level Drive or Inclined Drive
Mode (If Equipped)
1. Level Drive Mode
Select level drive mode when traveling on flat
surface.
For platform control console with toggle switch:
To activate level drive mode, select inclined drive/
level drive switch to
level drive (high speed/
low torque) position.
For platform control console with rotary switch:
To activate level drive mode, select lift/inclined
drive/level drive switch to
level drive (high
speed/low torque) position.
WARNING
Aerial platform must be in fully retracted
position when operated on any grade.
Driving while elevated on any grade may
result in death or serious injury.
2. Inclined Drive Mode
Select inclined drive mode when climbing
grades or when loading or unloading the aerial
platform.
For platform control console with toggle switch:
To activate inclined drive mode, select inclined
drive/level drive switch to
inclined drive (low
speed/high torque) position.
For platform control console with rotary switch:
To activate inclined drive mode, select lift/inclined
drive/level drive switch to
inclined drive (low
speed/high torque) position.
WARNING
To protect against unintended movement
of the aerial platform, push in emergency
stop button after you have arrived at your
desired location or elevation.
2.10-8 To Extend/Retract Manual Extension
Platform
DANGER
Crushing Hazard - Extension platform
must not be retracted manually from the
ground.
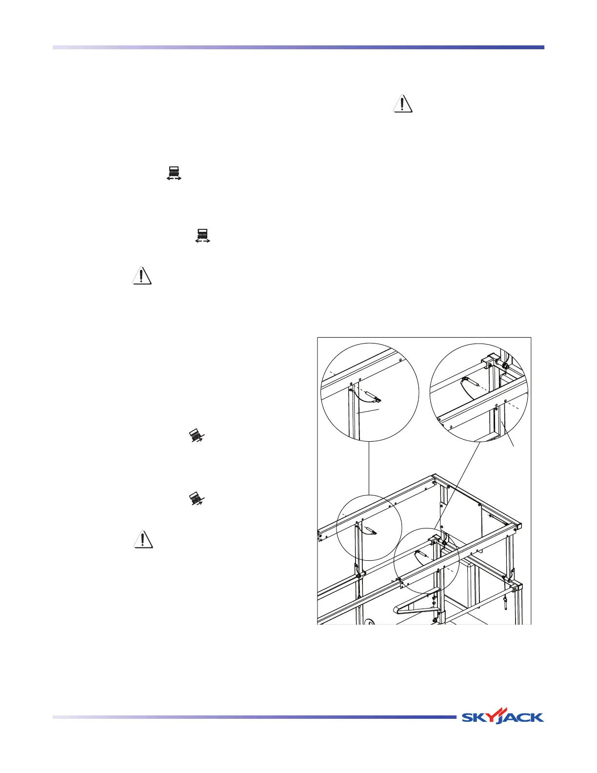
1. To extend/retract manual extension platform,
remove retaining locking pins and push/pull
extension platform using the push bar or sliding
handrails to one of four or five desired locking
positions.
2. Upon extension or retraction, reinsert locking
pins. Insert pin on one side of aerial platform
in front of upright bar and the pin on the other
side of aerial platform behind the upright bar to
prevent accidental movement, in either direction,
of manual extension platform during travel or
transport. Refer to Figure 2-16 for a configuration
example.
Upright Bar
Upright Bar
Figure 2-16. Variable Position Manual Extension
Platform

Table of Contents

Other manuals for Skyjack SJ 4620

Related product manuals