EasyManua.ls Logo

Snapper R5002B - Electric Start Components

Snapper R5002B
54 pages
Print Icon
To Next Page IconTo Next Page
To Next Page IconTo Next Page
To Previous Page IconTo Previous Page
To Previous Page IconTo Previous Page
Loading...
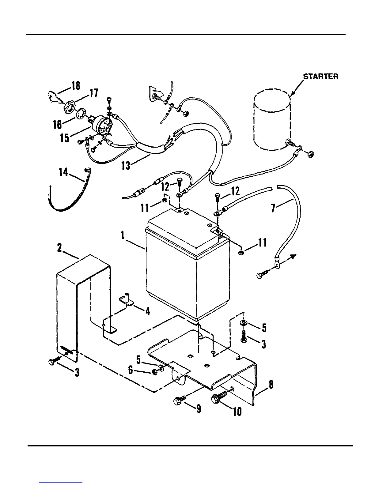
Electric Start Components
TP 400-5202-5-RT-N
Manual No. 7006033 LARGE FRAME REAR TINE TILLERS
SERIES 2
42

Related product manuals