EasyManua.ls Logo

Snom HD300 - Installation; Installation Option - Installing Base Stand for Desktop

Snom HD300
24 pages
Print Icon
To Next Page IconTo Next Page
To Next Page IconTo Next Page
To Previous Page IconTo Previous Page
To Previous Page IconTo Previous Page
Loading...
EN - 10
Installation
Installation option - installing base
stand for desktop
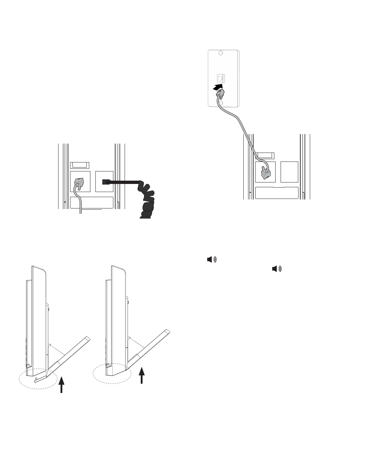
To mount the telephone base on the base
stand
1. Turn the telephone base over with the
bottom side facing up. Connect the coiled
handset cord to the telephone base, and
then connect the long Ethernet cable as
shown below.
2. Align the grooves of the base stand with the
telephone base. Slide the base stand up to
secure it.
3. Plug the other end of the Ethernet cable to
the Ethernet wall jack.
4. Place the handset on the telephone base
cradle.
To test your installation
Press on the telephone base. Listen for a
dial tone, and then press again to hang up.
To unmount the base stand
Simply slide the base stand down, and lift it
from the telephone base.
To LAN
To PHONE
To LAN
To PHONE

Related product manuals